
Здравствуйте. Может ли кто-нибудь помочь с размерами 21179-1006800 ПРИСПОСОБЛЕНИЕ ДЛЯ ФИКСАЦИИ РАСПРЕДВАЛОВ, (Лада Веста, Х Рэй с двиг. 1,8L) нужны для самостоятельного изготовления. Купить не могу, ценник не просто не приличный, он космический. Размеры с движка снять в живую пока тоже возможности нет.
Я все таки нашел размеры этого хитрого устройства.
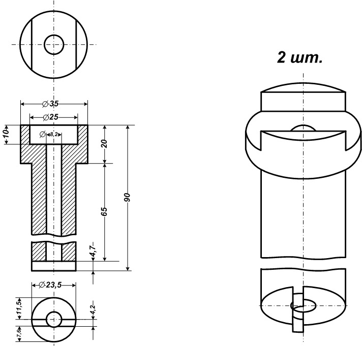
Теперь могу выложить размеры этого фиксатора здесь для Форумчан, и фото которое мне прислали сделано по этим чертежам. Кому не ответил в личку не обижайтесь, был целый месяц в командировке, а чертежи дома на компе. (красным отмечен размер требующий подгонки "напильником" по месту). Еще нужны 2 длинных болта с резьбой М8, подходят от нижнего крепления генератора ваз 2110.







Комментарии 126
Кому нужен фиксатор, есть в наличии. Цена 2500р.
Здравствуйте, пришлите пожалуйста чертеж этой чудо приспособы
Где в Москве можно выставить метки на лада веста 1.8
Так вот он чертеж выложен ниже.
Добрый день пришлите пожалуйста мне тоже чертёж shugurov098@gmail.com
3700 это космический?))))
Менял сам
Комментарий удалён
При установки ГРМ на ВАЗ почти всегда получается не большое смещение меток из-за натяжки ремня, а при наличии фазовращателя на двигателе 21179 и подпружиненного натяжного ролика это микроскопическое смещение просто ни о чем, и не факт, что ключ сделан точно тем более что Ваш и мой ключ они немного разные (по крайней мере по производителю). То что одинаковые машины (Веста) едут по разному это нормально, не бывает одинаковых движков, и момент считываемый и расчетный при одинаковых прошивках все равно хоть немного но отличается, отсюда и едут по разному. В этом документе almarka.ru/wp-content/upl…ads/2019/07/vaz-21179.pdf ничего не сказано про отклонении пазов отличное от 90 градусов. да я и не думаю что в этом есть великая тайна автоваза или смысл сделать смещение например 91,3 градуса, зачем?
Вы предпологаете что у меня брак?
на фото видно около 3-х градусов
В моем тексте выше, слова БРАК нету. А есть то что разные производители, это разные понятия. Я не собираюсь с Вами мериться у кого ключ круче. По этому чертежу сделан не один ключ, включая мотористом с которым я работаю. Ни у кого проблем не возникало, если бы было все плохо давно бы уже выяснялось бы. Повторюсь, эти несколько градусов при фазовращателе ни кому не нужны ловить их.
-))) так я и не меряюсь … я сравниваю, спросил ваше мнение…
так как считаю кондуктор ГРМ точным инструментом… ХОЧЕТСЯ ИСТИНЫ… как то так
Viktorch48
При установки ГРМ на ВАЗ почти всегда получается не большое смещение меток из-за натяжки ремня, а при наличии фазовращателя на двигателе 21179 и подпружиненного натяжного ролика это микроскопическое смещение просто ни о чем, и не факт, что ключ сделан точно тем более что Ваш и мой ключ они немного разные (по крайней мере по производителю). То что одинаковые машины (Веста) едут по разному это нормально, не бывает одинаковых движков, и момент считываемый и расчетный при одинаковых прошивках все равно хоть немного но отличается, отсюда и едут по разному. В этом документе almarka.ru/wp-content/upl…ads/2019/07/vaz-21179.pdf ничего не сказано про отклонении пазов отличное от 90 градусов. да я и не думаю что в этом есть великая тайна автоваза или смысл сделать смещение например 91,3 градуса, зачем?
Ни кто не говорит про повторную натяжку ремня при 30 гр.
проверял на нескольких движках, распредвалы действительно разведенны отоносительно горизонта
впускной
вроде ровно 90 гр
ВЫПУСКНОЙ ВАЛ отведен в сторону относительно горизонта
обратите внимание на то что: выемка под паз в распредвалу не ровно под 90 градусов . при чем обе
В том ключе с которого я снимал мерки в рем. цехе у официалов смещения не было, по крайней мере на глаз ничего не видно.
asya1111
обратите внимание на то что: выемка под паз в распредвалу не ровно под 90 градусов . при чем обе
Привет, Вы в курсе что маркировка вашего кондуктора "21179-1006800-77" и 77 в конце это означает что кондуктор от спорта? Для валов Веста спорт, у неё выпуск "разжат".
все думают, что это так важно (программа управления двс все нивелирует я думаю это для холодного запуска двс
на практике нет ни какой разницы каким кондуктором устанавливать палки (распредвалы)
Спасибо за чертеж зема)
Сделано… www.drive2.ru/b/552397666525381958
При установке смещение по центрам в одну сторону или в разные?
almarka.ru/wp-content/upl…ads/2019/07/vaz-21179.pdf Там на рисунке 60 показано расположение пазов.
Спасибо. Полезная информация.
Здравствуйте. Если не сложно будет, скиньте пожалуйста чертежи. Заранее огромное СПАСИБО. bfg1990@mail.ru
Так вот они уже выложены как в прошлом году.
Доброго дня, если можно мне тоже чертеж, civic199@rambler.ru. Спасибо
Добрый день! Можете мне тоже скинуть чертежи ? Спасибо vip.088@bk.ru
Добрый день, можете мне тоже пожалуйста отправить чертежи ram1re2@mail.ru ! Спасибо!
Добрый вечер, скиньте пожалуйста чертеж.
govorov-mans@mail.ru
Добрый вечер, пожалуйста скиньте мне тоже чертёж, очень надо. С уважением Александр.
Здравствуйте, сбросьте пожалуйста чертёж приспособы vik5800@ya.ru . Спасибо
можно чертеж пожалуйста
Скиньте чертежи приспособления мне
Будьте так любезны и мне скинуть чертёж gegam.moiseev@mail.ru заранее благодарен
Буду благодарен за чертежи. приехала машина на замену грм и помпы а я как поглядел? зачем так усложнять. Грм поменять без проблем а вот помпу совсем другое дело. Цены на фиксатор сумашедшие. Но есть возможность изготовить. rgrib1@yandex.ru За ранее спасибо.
Здравствуйте! А чертежик у вас ещё остался? Буду примного благодарен. alexandrsti83@gmail.com
А на колене есть шпонка? Пишут вроде, что и его фиксировать надо.
Есть там шпонка, но его фиксировать все равно надо, для откручивания болта шкива генератора.
У меня пневмопистолет есть, им проще)))
Открутить и закрутить проще, а вот удерживать коленвал в ВМТ при замене ремня мне проще моим фиксатором www.drive2.ru/l/518013464023663335/
Добрый день, можете мне тоже пожалуйста отправить чертежи xturik@yandex.ru ! Спасибо!
Здравствуйте, можно мне тоже чертежи данного приспособления. Заранее благодарю! dim1078@mail.ru
И ещё если кто пробывал менять с помощью этого фиксатора, он момент затяжки шкива выдерживает? или валы нужно держать дополнительно открыв крышку клапанов?
Вы в любом случае открываете крышку клапанов, так как нужно снимать задающий диск датчики фаз. Распредвал трубчатый (пустотелый) так что как его тянуть решать Вам, а выдержит ли фиксатор или нет, это смотря из какого материала его изготовить. Я себе делал из 30ХГСА, эта выдержит момент, но я бы продублировал бы сверху ключом.
Здравствуйте можно и мне если не трудно. dot3.rf@mail.ru
Здравствуйте, подельтесь, пожалуйста, чертежом шаблона для фиксации распредвалов, почта ussa71@yandex.ru. Заранее благодарен.
Добрый день, можно пожалуйста чертеж на почту moskolehkopavel@gmail.com Заранее благодарю!
Спасибо огромное за чертеж! Одна не понятка выступы делать 4,2 или 4,4
Выступ делать 4,4 и потом подогнать напильником для точной посадки без зазора.
Доброго дня, можно пожалуйста чертеж на почтуtolstoy.alexsey@yandex.ru Заранее спасибо !
Привет.Отправь пожалуста чертеж
Доброго дня, можно чертеж на почту benzivo@mail.ru. Заранее спасибо.
latypov.174@mail.ru
добрый день.можно мне чертеж этой приспособы.заранее благодарен
Здравствуйте, можно мне тоже чертежи данного приспособления. Заранее блогодарю. ssmolin@yandex.ru
Здравствуйте, пополню список нахлебников:)
если не затруднит, можно ли тоже получить этот заветный чертёж? Rean1m2008@yandex.ru
Добрый день можно чертёж скинуть Alexandr05_77@mail.ru Спасибо
сегодня забрал машину с сервиса.(замена сальника распредвала )
ГРМ теперь визжит как порося. и по-жопомеру показалось что динамика авто ухудшилась
так-что буду очень благодарен. santsov-dima@mail.ru
Здравствуйте ! Пришлите, пожалуйста, чертеж на ostrova@spark-mail.ru . Спасибо
Добрый вечер, если не затруднит отправьте пожалуйста размеры denisovposad@yandex.ru
Добрый день, можно мне тоже чертеж . Заранее благодарен. sawello@yandex.ru
Доброго времени суток. Можно мне тоже чертеж fuckyltet@mail.ru
Комментарий удалён
Очень похоже на правду, кроме того что фиксатор для наших 21179 должен быть в вертикальной плоскости, а не горизонтальной. Этот инструмент я тоже видел.
если в вертикальной то удалил фото — да бы не сбивать с толку других . и добавлю оригинальный стопор который применяется на заводе по сборке ставиться с верху на распредвалы .
Да, я видел этот фиксатор на видео, для работы он скорее всего будет удобнее чем первый вариант, так как ненужно снимать задающий диск ДФ и выковыривать заглушки, только бы хватило бы жесткости при фиксации, но для этого важна точность изготовления и материал. В общем нужны размеры.
По сути можно и такой сделать, замерять надо и что там на распредах, куда этот фиксатор вставляется там пазы что ли?
Вечер добрый и мне пожалуйста вышлите чертеж) заранее благодарен
OBLOM64@yandex.ru
Добрый вечер пришлите мне тоже пожалуйста чертеж shaygu92@mail.ru
Добрый вечер пришлите мне тоже пожалуйста чертежи Abdula.magomedsaidov@mail.ru заранее спасибо
Приветствую! Пришли мне пожалуйста на d.kotelnikov@bk.ru и подскажу сколько тебе обошлось изготовление. Спасибо заранее!
здравствуйте и мне пришлите пожалуйста manager@regiontehsnab.ru
Доброго времени суток. Можно тоже заполучить чертежи для этих чудо фиксаторов. Спасибо.
Добрый день, можно пожалуйста чертежи. Заранее благодарю.
Добрый день. Скиньте пожалуйста чертежи.
Всем добрый. Есть у кого чертёж на сьмник грм 1.8.скиньте пожалуйста на почту avto_remont_2017@mail.ru или ватцап 918 298 63 30
Скинул в личку
Добрый день! Можно чертежи сбросить на почту? Vitalicfvn@gmail.com
Скинул в личку.
День добрый, можно мне тоже скинуть? На почту.
Stanislav_1986099@mail.ru
Добрый день. Скиньте пожалуйста чертежи. Почта pasamarin@yandex.ru.
Скинул в личку.
Можно чертеж?)
Islamkathanov@gmail.com
Можно чертеж, заранее спасибо.egorovd1979@mail.ru
Отправил
Можно и мне чертеж, заранее спасибо. Pecher.kirya@gmail.com
скиньте чертеж пожалуйста Буду очень признателен
jawish57@gmail.com
отправил
Добрый день вечер ночь) актуально ли еще с чертежами? kalmykov-ve@mail.ru
отправил
Добрый день ребята, можно и мне размеры в личку avtoimport-bor@mail.ru
отправил
Добрый день ребята, можно размеры в личку .заранее благодарен wertalet7@gmail.com
добрый день, можно попросить размеры в личку:
Bzykoff@yandex.ru
Можно и мне чертеж пожалуйста. Stanislav.afo@rambler.ru
Отправил в личку.
Отправь в личку пожалуста размер
Viktorch48
Отправил в личку.
Wertalet7@gmail.com зарание спасибо
кто может продать такую?
На andigur2000@mail.ru скиньте чертеж пожалуйста
Добрый день. А можно и мне в личку чертеж. Буду очень признателен. Stas.yablochkin87@gmail.com
моя почта from_87@mail.ru
добрый день я встрял с грм можно мне чертеж данного изделия буду очень благодарен?!
Добрый, прошу и мне, заранее благодарен.
Добрый день всем! И мне можно чертежи на си девайс. Благодарю за ранее
Вечер добрый! Скиньте пожалуйста чертёж на grik89@mail.ru. Заранее спасибо.
Скинул в личку.
Здравствуйте. Можно и мне чертеж в личку
Здравствуйте! Тоже столкнулся с аналогичной проблемой, был в поисках буду очень благодарен за чертежи для самостоятельного изготовления. Sdyo.kf@gmail.com. Заранее благодарю.
Чертеж в личку отправил.
Добрый день! Скинь пожалуйста чертежи, заранее спасибо!
Добрый день, скиньте пожалуйста чертёж, заранее спасибо
Здравствуйте скиньте пожалуйста чертежи приблуды, заранее благодарен
Парни ну чего у кого-то есть чертеж приспособления?
Здравствуйте! Столкнулся с заменой помпы, нужны фиксаторы, покупать что то они стоят безумных денег, можно ли получить чертежи с размерами для самостоятельного изготовления их, заранее благодарю
Если можно, мне тоже :)
Здраствуйте. Можете чертежи дать? Этой приспособы
Вам чертежи скидывали?
Да
Здравствуйте! Можно попросить в личку чертежи на эту приспособу?
Вам чертежи скидывали?
Дружище если чертижами разжился поделись пожалуйста, а то вчера упахался валы паралелить на весте .
А можно и мне чертежи?
Здравствуйте! Можно попросить в личку чертежи на эту приспособу?
Да, можно, вечером спрошу, сейчас на работе.
ЗДРАВСТВУЙТЕ. МОЖНО ПОПРОСИТЬ У ВАС ЧЕРТЕЖ ПРИСПОСОБЫ ДЛЯ ВЕСТЫ. ЗАРАНЕЕ БЛАГОДАРЕН
Viktorch48
Да, можно, вечером спрошу, сейчас на работе.
Viktorch48 скинь пожалуйста чертеж