Доброго времени суток, читатели и гости БЖ ML-ки. Первым делом после приобретения автомобияля начинаю проверять тормозную систему. После осмотра пришел к единственно верному решению — менять диски и колодки в круг.
На заднем правом верхнем рычаге был порван пыльник. Решил сразу заменить. При откручивании самоконтрящейся гайки провернулся шестигранник — проточил УШМ-кой под рожковый ключ.
Новой гайки под рукой не оказалось, законтрил второй.
Тросики ручника протерлись почти насквозь. Уплотнил отрезками шланга и подвязал на проволочку. Да колхоз.
Комплект тормозных дисков и колодок на заднюю ось.
Тормозные колодки ручника.
Старый / новый аналогично передним — далеко за минимальными нормативами.
Правый задний в собранном виде.
В заднем левом верхнем кронштейне рычага обнаружен разЪеб отверстия — оказалось регулировочное для развала.
На задней направляйке обнаружил резинку с дырочкой — заменил на патрулевскую ))) только длиннее чутка.
Также обнаружилось биение передней левой нижней шаровой опоры (ввех/вниз) — вопрос, регулируется натягом или под замену? Прокатился. Греется передний левый диск — не отпускаются колодки (((
Ревизирую поршень. Думаю заржавел.
Прошелся нолевочкой. Это что тефлон?
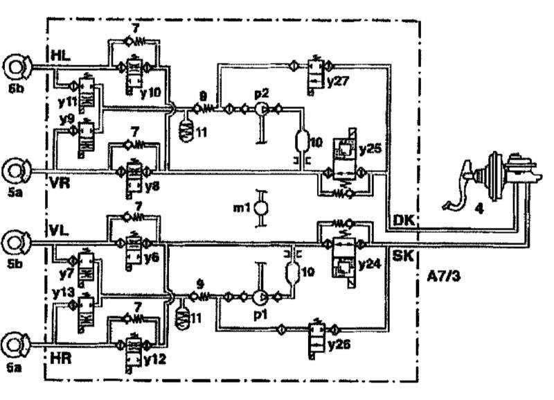
Схема, что нашел. Может электроклапан сброса давления в контуре — ипет мозг?
Поршень обратно вдавливается с нормальным усилием. После очередного нажатия на педаль тормоза — не разжимает колодки. Данной проблемы не было до замены тормозных дисков и колодок. Други, выручайте советами и репостами, может кто сталкивался с таким явлением не только на мерседесах. P.S: Проблема решена. Приклинивал поршень последние 1-2мм. Разобрал, шкурочкой прошелся. Видимо не прошло даром вдавливание поршня уперевшись в дно — деформация. Он же (поршень) оказался из текстолита. Ну кто же знал то ))). Собрал, прокачал тормоза. Явление пропало.
вроде текстолитовые у нас тормозные поршня, так что аккуратнее в следующий раз так вдавливайте поршня могут и лопнуть. лучше через проставку какую нибудь. сами стенки в суппорте смотрели? там может и заржаветь. и не всегда сразу заметно повреждение пыльника. и направляйки стоило шлифануть или заменить вместе их пыльниками. а то смотрю место под торкс в грязи, там крышечки должны стоять. а в месте крепления рычага так и должно быть что бы сход-развал сделать можно было. регулировка идет тягами и верхними рычагами
— текстолитовые ))) — а я то думаю зачем ободок из нержавейки. Давил в основном через проставку. — стенки не смотрел — по ним поршень не елозит, только по резиновому колечку. К перемещению поршня внутри суппорта вопросов нет. — направляйки передние из нержи? — там нормально — смазал МС1600. А вот по крышечкам я и сам задумался — на шкоде были ))) — замазал доверху смазкой. — вот теперь понятно — надо протянуть с хорошими шайбами ))) Спасибо.
вроде текстолитовые у нас тормозные поршня, так что аккуратнее в следующий раз так вдавливайте поршня могут и лопнуть. лучше через проставку какую нибудь. сами стенки в суппорте смотрели? там может и заржаветь. и не всегда сразу заметно повреждение пыльника. и направляйки стоило шлифануть или заменить вместе их пыльниками. а то смотрю место под торкс в грязи, там крышечки должны стоять. а в месте крепления рычага так и должно быть что бы сход-развал сделать можно было. регулировка идет тягами и верхними рычагами
А шаровая передняя нижняя, такая с гайкой корончатой — регулируется? Т.Е. поджимается?
шаровая максимально поджимается во время установки, так что если палец гуляет, то замена
Снял суппорт, цилиндр подклинивает в самом низу, внутри все чисто, шкуркой погонял до уверенного касания цилиндриком дна. Собрал. Вроде получилось. Посмотрим на поведение.
Комментарии 18
Добрый день! Как тормоза себя ведут спустя годы? Как диски? Размышляю о выборе дисков отцу на ml
Добрый день. Диски как диски. Пробег у машины тысяч 5-7 в год. Я не гурман)
Жена катает. После Патрола тормоза на МL просто отличные)))
Привет. Подскажи, пыльник отдельно продаётся? Если да то номер скинь его пожалуйста.
Пыльник шаровой рычага MASUMA MO-2113
Спасибо!
А разъеб отверстия это не для сход-развала предусмотрено?
Именно для этого — меня уже направили на правильный путь. Надо болт поменять и затянуть хорошо.
Тоже планирую такую процедуру) какие диски взял?
Перед Meyle, задние Febi.
колодки китайские поставил… диски третий сорт немцы. задние торм диски вроде еще отличные по толщине, по фото разница от новых в миллиметр.
Диски чай не напильником точены. задние уже 12мм из 13 минимальных и 15-ти новых. Просто бортик обманывает. Вольво уже тоже китайское)))
вроде текстолитовые у нас тормозные поршня, так что аккуратнее в следующий раз так вдавливайте поршня могут и лопнуть. лучше через проставку какую нибудь.
сами стенки в суппорте смотрели? там может и заржаветь. и не всегда сразу заметно повреждение пыльника. и направляйки стоило шлифануть или заменить вместе их пыльниками. а то смотрю место под торкс в грязи, там крышечки должны стоять.
а в месте крепления рычага так и должно быть что бы сход-развал сделать можно было. регулировка идет тягами и верхними рычагами
— текстолитовые ))) — а я то думаю зачем ободок из нержавейки. Давил в основном через проставку.
— стенки не смотрел — по ним поршень не елозит, только по резиновому колечку. К перемещению поршня внутри суппорта вопросов нет.
— направляйки передние из нержи? — там нормально — смазал МС1600. А вот по крышечкам я и сам задумался — на шкоде были ))) — замазал доверху смазкой.
— вот теперь понятно — надо протянуть с хорошими шайбами )))
Спасибо.
omarko
вроде текстолитовые у нас тормозные поршня, так что аккуратнее в следующий раз так вдавливайте поршня могут и лопнуть. лучше через проставку какую нибудь.
сами стенки в суппорте смотрели? там может и заржаветь. и не всегда сразу заметно повреждение пыльника. и направляйки стоило шлифануть или заменить вместе их пыльниками. а то смотрю место под торкс в грязи, там крышечки должны стоять.
а в месте крепления рычага так и должно быть что бы сход-развал сделать можно было. регулировка идет тягами и верхними рычагами
А шаровая передняя нижняя, такая с гайкой корончатой — регулируется? Т.Е. поджимается?
шаровая максимально поджимается во время установки, так что если палец гуляет, то замена
Вверх вниз примерно на 3 мм — менять (
omarko
шаровая максимально поджимается во время установки, так что если палец гуляет, то замена
Снял суппорт, цилиндр подклинивает в самом низу, внутри все чисто, шкуркой погонял до уверенного касания цилиндриком дна. Собрал. Вроде получилось. Посмотрим на поведение.
думаю проблем не должно быть, просто тут всегда нужна полная разборка элемента. поверхностная чистка редко избавляет от проблем