Обнаружилась течь в соединении.Не могу найти номер уплотнительного кольца патрубка интеркуллера. Есть такие кольца на ОЗОНе НО не KIA/HYUNDAI а на немцев. В магазина запчастей говорят нет такой запчасти, только весь патрубок, ждать 2 мес и цена около 8к 😀. Может есть опыт у кого-то ?
ДОПОЛНЕНИЕ ПОСТА:
Сняли патрубок, он в отличном состоянии как и кольцо, буду по размерам теперь искать, профиль своеобразный, с манжетой в одну сторону.











Комментарии 54
Какой стороной нужно ставить кольцо?
По аналогии с родным
Здравствуйте.Трудно было кольцо новое поставить
Без особых проблем. Мазал силиконовой смазкой что бы не завернулась при установке.
Спасибо.Нашел такое кольцо только для нассана 1661800QAL
Поставили это кольцо? Как результат?
marsoo
Спасибо.Нашел такое кольцо только для нассана 1661800QAL
BMW 13718596850
Вот это кольцо подходит
Есть магазины Гидросервис, они занимаются перепрессовкой рукавов высокого давления в гидралике дорожной и строительной техники, также они продают уплотнительные кольца разного вида и размера, толщины. Может у них можно такое кольцо подобрать. Или в магазин по запчастям для сельхозтезники обратиться, там тоже есть в продаже уплотнения разного вида.
Да вроде уже нашли сообща коллективно нужное кольцо, заказал, лежит ждёт когда руки дойдут.
Какое кольцо в итоге заказали? Поставили? Работает?
Приветствую. Поставил, пока проехал около 3.000, встало хорошо, не потеет пока
Раз корейцы не продают колечко отдельно — значит не признаётся за проблему. Ну потеет и потеет, мелочь, нюанс так сказать 😁 Масла аж 8 литров, всё не выпотеет наружу.
Наверное😄, я думаю у них патрубок стоит копейки, ну тут вроде хороший человек нашел манжет подходящий, я уже заказал 😀
Ага, я в комментах писал ниже, патрубок в Корее стоит меньше 1000 руб. Столько же сколько у нас резиночка. Поэтому поменять вообще не проблема, если конечно у них кто-то заморачивается этим.
Я заменил резинку www.drive2.ru/l/694870733985176431/
Я заказал в ОЗОНЕ по номеру 13718596850, пришло просто кольцо. Не стал брать.
Заказал другое = QF76A00050.
По термоусадке — ошибся в диаметре, отказался, да и толщина у неё крайне малая, думаю надо по другому.
Я вот еще заказал термоусадку диаметром 80мм, думаю натянуть её на горловиту ДЗ, что бы патрубок плотнее садился на неё и лучше держал.
Как вариант кстати не плохо 👍🏽
Товарищи, ну что, кто нибудь нашел замену кольцу? Поменял? Еще артикул Elring 087320.
У меня пока руки не дошли. Я тут напишу результат эксперимента как все произойдет
А вот и колечко с номерами.правда цена)))
Да оно тоже у меня уже в закладках на озоне 😄😀. Не спеши заказывать, может найду максимально близкое, но мне понадобится время. Цена так-то все же лучше чем патрубок
Я не спешу.по опыту ремонтов авто скажу, что орига у рено хорошие запчасти.на рено нередки дизельные авто.я тоже штудирую этот вопрос
Второй патрубок так же на 2 кольцах, но там диаметр 55мм.если менять, то и там тоже
Опередил меня.вообщем в автомагазине друг работает, попрошу его поискать.причем там выемки по торцу с одной стороны глубже, чем с другой.может попробовать в сечении круглое взять, но нужного диаметра.чтоб с смазкой туго заходило в металлический патрубок
Ищите по вину от спринтера или w447 с мотором om651 . Там все соединения такие. Кольца идут отдельно
О, это уже интересно . посмотрю 👍🏽
Проблема (если это проблема) массовая. У меня такое запотевание с 20000км пробега…сейчас почти 90000км… официалы просто замывали это место каждое ТО (говорили — гарантия это только если течь, а так даже в мануале на машину написано, что "допустимы запотевания"). От замены до замены масло не уходит ни на грамм. Кольца такого нет в продаже, замена только всего патрубка. Но стоимость его перекрывает здравый смысл… не парьтесь — это же Дизель.)))
Многие так говорят — забей, купил дизель будь готов к то у что масло кругом 😄
Да разве это "кругом"?! Это вообще ерунда. Реально не парьтесь! Масло на месте — это главный показатель. А если Вы все же найдете кольцо (как советуют ниже) с w447 или от Газели))))… и с ним что-то случится в пути, далеко от дома?!вам это запотевание покажется "детским садом". Колхоз — дело такое.
Уж очень колечко похоже на кольцо сантехнических труб… И принцип видимо тоже такой же.
Да не, размеры не те.
Такое же запотевание патрубка
Сейчас глянул в каталог по своей машине, 2л D4HA но патрубки другие, и выдохнул). Может на обычные хомуты перейти вам?
Странно .)) 🤔я думал D4HA он без модификаций. Читал у Туксонов кто-то пробовал перейти на обычные хомуты, и винтовые и проволочные, слетают или сразу или в течении короткого времени, именно по этому я так понял там быстросьемный вариант который слететь не может конструктивно. Да собственно я уже понял, размеры есть надо смотреть среди таких колец- манжет для гидроцилиндров.
У меня дилерский дизель 2л d4ha 185 ЛС, 2016 г, все на хомутах, за 8,5 лет туда не лазил, ничего не течет/не потеет
D4HAJU884438 У меня такой если прям совсем точно 😄 или это с серийником
на сайтах запчастей этот номер от 3700 руб, срок месяц,
вот в китае, разные размеры, а какой размер на трубе? detail.tmall.com/item.htm…4d%22%7D&xxc=taobaoSearch
Как выяснилось, патрубок вполне живой и рабочий, всему виной кольцо
Вулканизированная резина 🤦♂️🤦♂️🤦♂️, с газели подойдет 😁, не ну правда подобрать по диаметру можно же любой другой шланг
😄😄 любой шланг не подойдет, его турбина быстро порвет и всё.
Тпкая же проблема, потеет.в поисках этого супер колечка.у меня патрубок за 14к предложили
Да это оказывается частая проблема на D4HA а вот способа решения ни у кого нет. 14к это прям крутовато ))
А есть артикул патрубка?
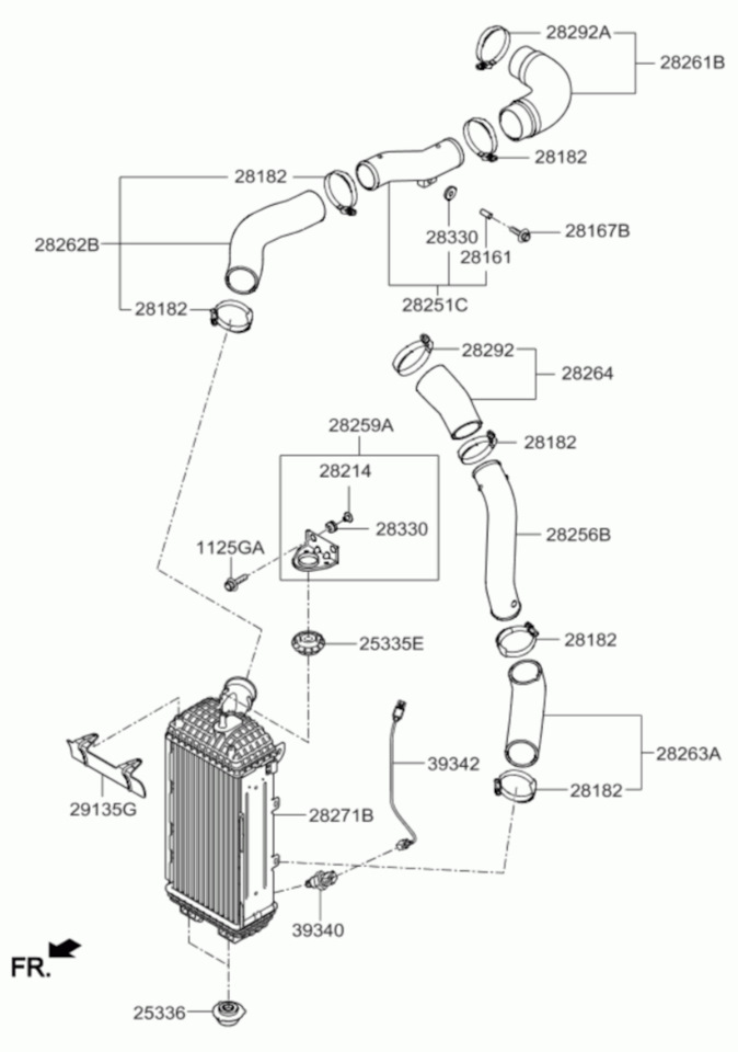
282642F950 Партномер патрубка. 28264 на схеме
В Корее патрубок стоит примерно 1 000 руб.
Посредники берут от 40% от стоимости, ну пусть в общем 1 500 руб его цена в Корее.
Но цена доставки начинается от 4 000 руб за 1 кг веса (авиадоставка, 2-3 недели срок). Есть смысл заказывать патрубок с другими, не особо тяжёлыми и негабаритными запчастями. Особенно выгодно получается если запчасть небольшая и дорогая в принципе (я заказывал датчик).
Например, пару фильтров топливных оригинал за 3 000 + патрубок 1 500 + 4 000 доставка.
В итоге у вас получается два топливных фильтра по такой же цене как в РФ и патрубок можно сказать даром))
Ну в общем там возможны варианты.
Всё так, есть контакт парня в Сеуле который занимается именно запчастями. Но это уже если ни чего проще не придумаю.
Заедь где гидравликой занимаются, ремонтом и продажей, там подберут.
И размеры напиши на будущее
Да, я отпишусь постом отдельно когда решу проблему. С гидравлики мысль дельная 👍🏽🤝
SkyAct
Заедь где гидравликой занимаются, ремонтом и продажей, там подберут.
И размеры напиши на будущее
Размеры снял, в посте фото.
Здравствуйте, такая же песня была с этим патрубком, менял целиком.
Не хочется брать патрубок за 8к который ещё и ждать 2 месяца из-за резиночки 😀.
Подходящий по диаметру в авто или стоймагазинах подбери и диаметр по толще, 2 штуки возьми, одно при продаване зажигалкой пройди если сморщится или сплавиться, верни 2е, если нет то смело)
Ну на крайний случай так и сделаю, но этот вариант конечно так себе. Профиль у резинки ещё П образный, я так понимаю что бы держал давление, там круглого сечения резинка не станет, а ещё же маслостойкая должна быть. На карнавал 2.2 вроде есть такая запчасть, но станет ли …