В начале декабря микра стала выдавать мне неописуемый оркестр звуков, который начался достаточно спонтанно, но ещё несколько дней ежедневно менялся. Хуже всего звучало при движении задним ходом — для меня было похоже на то, что двигатель под капотом танцует лезгинку как минимум. Папа, конечно, мастер в своем деле, но не звуковой диагност, даже примерного диагноза он не поставил. Несколько дней раздумий привели меня… к официалам. Не от безысходности, а по причине того, что я работаю в автосалоне и у нас на территории расположен сервис Ниссана. Мастеру-приемщику я показывала машину уже с тремя версиями на руках: глушитель, просели подушки двигателя и третью подзабыла (уже не 18 лет, простите…). Мастеру хватило пары минут в машине, чтобы указать на глушитель, но машину загнали на подъемник, чтобы проверить наверняка. Мастер не ошибся, оторвало крепление на приемной трубе и пошла трещина на резонаторе. Ниже будут скриншоты с фотографиями из сервиса и ценой на оригинальные запчасти со скидкой сотрудника (спойлер: готовьте корвалол с валерьянкой, сразу по литру))). На вопрос "а можно приварить хоть как-нибудь временно" в сервисе получила категоричный отказ. Расстроилась. Ведь на дворе было только 8 декабря, а в Белгород я собиралась ехать 28. Начали с папой планировать перегон машины с моим возвращением на поезде тем же днём. Параллельно я позвонила в сервис АТТ и пригнала к ним машину на осмотр и ещё один независимый вердикт. Посмотрели, покумекали, приварить согласились, но без каких-либо гарантий. Мне было достаточно 1000 км на этих сопельках, а дальше хоть пусть напрочь отваливается, потому что через 1000 км Микра уже была бы в Белгороде. Спойлер: не отвалилось. Не знаю как все выглядело снизу, но больше посторонних шумов не было, глушитель доехал до Белгорода на машине, а не в багажнике.



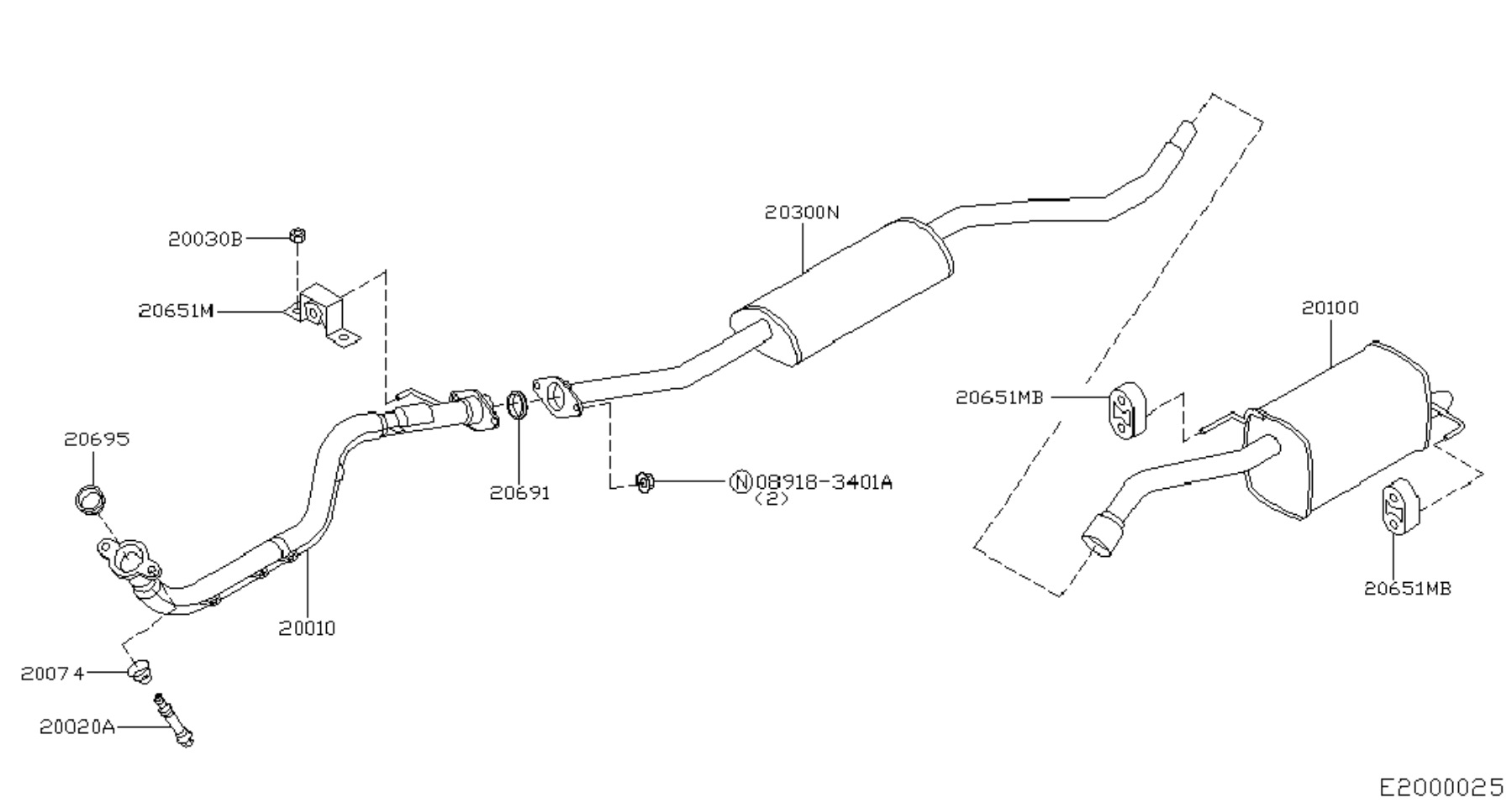
Тем не менее, после осмотра днища машины возникли некоторые вопросы, потому что меня ввел в ступор второй катализатор. Точнее нас с папой вводила в заблуждение схема, на которой он был изображен как будто отдельно от все системы глушителя. Чего я только не увидела позднее в интернете — и системы глушителя без катализатора, и с катализатором в другом месте и тд. И вот тут очень сильно помогли 2 бж с драйва — первый и второй. После штудирования обоих мы констатировали факт, что Микра на механике шла только с одним катализатором, а Микра на автомате — с двумя. При этом второй пассивный и не имеет датчиков как основной. Почему именно так — одним только японцам известно, дай бог им здоровья.


Казнить нельзя помиловать. Где поставить запятую? Такой выбор стоял у меня относительно катализатора. По моей логике, если что-то есть в машине, оно должно там оставаться. С другой — комплект глушителя, который ставится без катализатора, стоил дешевле. При этом на катализаторе есть сварочный шов и были подозрения, что фланцы не сойдутся. Поэтому катализатор долой, ставим облегченный вариант.
В упомянутых выше бж ребята провели очень долгую и подробную дискуссию не только по глушителям, но и по болтам, поэтому советую обязательно все прочитать, если собираетесь менять глушитель.
У меня задняя часть глушителя была поменяна ещё в апреле, ставили CBD 20100AY10B. Также при установке нового глушителя вылезла нехватка одного крепления на средней части, поэтому оторвали со старого и приварили к новому. Новая приемная труба встала чуть иначе, чем предыдущая, поэтому на фоне этих изменений и потери закладных от старой защиты, поставили новую с вырезом под глушитель.


Итого имеем:
1. Труба глушителя приёмная Polmostrow 15.230
2. Глушитель средняя часть Polmostrow 15.231
3. Пружина прижимная крепежная WESO K2-001 spring a l44mm
4. Болт special bolt m10 WESO K7-943
5. Прокладка выхлопной системы QUATTRO FRENI QF17A00047
6. Кольцо уплотнительное Bosal 256-111
7. Клипса крепежная гайка стопорная 10 мм Auto-GUR AGA1394







Комментарии 5
Спасибо за подробное описание проделанной вами работы. Ваш опыт поможет многим решить подобные задачи быстро и практично. Мы отвечаем на все обращения по вопросам относительно выхлопных систем. Контактная информация у нас на сайте и в группе VK.
Официалы как всегда радуют своими предложениями и ценами, но хорошо что есть варианты типа сервис по глушителям и у дяди Вани в гараже.
Я вообще не поняла откуда они такие цены берут, но отдам им должное за то, что предложили приехать со своими запчастями и установить. Цену такой работы не знаю, не стала рассматривать такой вариант
Заморочились конкретно. Я сразу без катала поставил резонатор, хотя до меня прошлый владелец убрал каталик, вообще по каталогу от 1.0. Та же проблема была с резонатором, несколько раз подваривал, но хватало не на долго. Поэтому сразу поменял.
Очень полезно
Надо будет тоже раскошелиться, заказать все и поменять
У нашей тоже латка на латке и проволочкой притянуто