Всем привет!
Дело было вечером, делать было нечего.
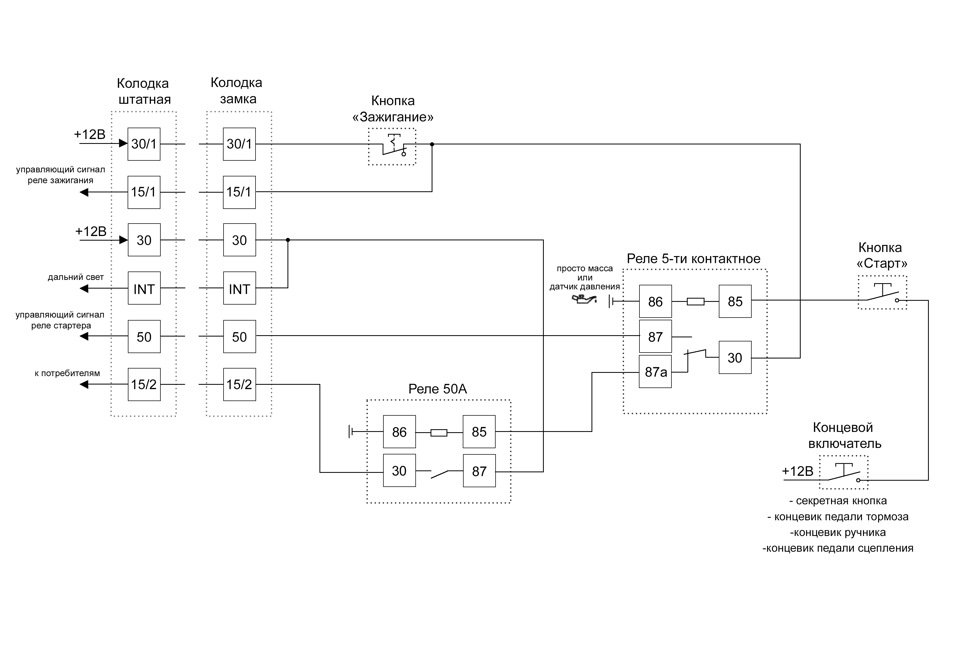
Набросал схемку управления зажиганием и стартером от кнопок.
Возможно я уже кого-то повторил и получился плагиат, не знаю. Данную тему на форумах не курил.
В схеме реализовано:
1) отключение потребителей при запуске двигателя, как и в замке зажигания;
2) блокировка случайного включения стартера при заведенном двигателе (при желании)
3) невозможность пуска двигателя без нажатия дополнительной кнопки (концевик или дополнительная кнопка по желанию).
Может когда то будет реализовано у меня, не знаю)))
P.S. буду рад, если кто-то подскажет реальные цвета проводов на колодке, которая подключается к замку зажигания.






