Вот и проявились последствия разбора двигателя без замены уплотнительных колец.
Уже несколько месяцев по утрам на протяжении первых нескольких сотен метров пути беспокоили затыки и дерганья, причиной проявления которых я считал глюки DSG или сцеплений. А вчера ради интереса запустил Васю и проследил за счетчиками Misfire Counter.

Первым сдался 2 цилиндр, поэтому решил для проверки выкрутить вторую свечу, после чего всё стало понятно. Интересно что масло попало в колодец только зимой, а до этого 3-4 месяца там всё было сухо.


На юбке свечи был лаковый налет, это значит что масло каким-то образом просачивалось через резьбу. А так как масло является диэлектриком, то результат предсказуем. В колодце 3го цилиндра тоже обнаружил небольшое количество масла, но в цилиндр оно не просочилось.
После чистки свечей и колодцев двигатель заработал чуть ровнее, почти пропали дерганья и вибрации при трогании и переключении скоростей. Надеюсь что проблема именно в масле и можно будет отложить запланированную замену сцеплений.
Перебирать двигатель из-за этой проблемы будет очень дорого, так что попробую только промазать зазоры в колодцах герметиком и если получится, заклеить их термостойкой лентой для ремонта глушителей.
Кстати, сегодня с утра были замечены единичные пропуски зажигания в остальных цилиндрах, возможно это является нормой. Если кто-нибудь сможет продиагностировать свой заведомо исправный двигатель таким-же образом, проверьте пожалуйста!

Отдельное спасибо VAGу за то что встроил распредвалы в крышку клапанов!

Комментарии 16
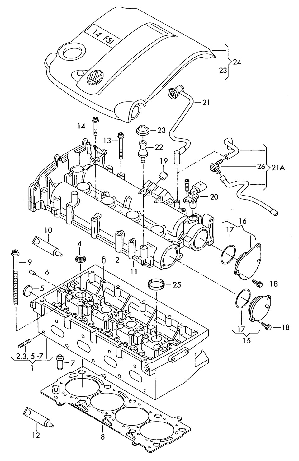
Помогите пожалуйста, необходимы каталожные номера болтов для крепления крышки гбц к гбц. Это 5 коротких и 10 длинных болтов. На схеме выше номер 13 и 14.
На CAXA?
N10247504 10шт
N10300805 5шт
1.4tsi caxa.
sarauto
На CAXA?
N10247504 10шт
N10300805 5шт
Спасибо тебе огромное!
Не за что!
VAG 03C103196 Elring 725210
Добрый день
Не могу найти каталожный номер уплотнения свечных колодцев. Bud 1.4 80л.с
Катушки не пробовали менять?
День добрый!
проблема решилась?
Если да, поделитесь…
Нет, проблема не решилась.
Каждый месяц выкручиваю свечи и протираю колодцы тряпочкой)
плохо, но это ведь не решение.
у меня начала этого же трабла, на сахе 122 л.с но не в таком масштабе. грешу на мороз и разовый давляк в первый цилиндр.
Решение только одно — разбирать полдвижка и менять прокладки)
У меня на холостом ходу пропуски зажигания в 3 цилиндре постоянно, а как газу дашь сразу все нормально. Хз в чем дело. Тоже лезть надо.
А у вас как с уровнем масла, перелива нет. У меня на прошлой машине десятке шестнадцатиклапанной была такая проблема — как под MAX на щупе масла налью, так сразу оно в колодцах появлялось, если на уровне половины — то в колодцах сухо, не знаю почему так видимо ВАЗ, но я не парился и ничего не делал, ездил так и за уровнем следил — проблем не было, так и продал.
С количеством масла точно всё нормально. Оно у меня подъедается, поэтому редко поднимается выше середины уровня