Доступно только для зарегистрированных пользователей.
Войти
DRIVE2.RU
Автомобильная социальная сеть
Внешний вид
Найти
Войти
Зарегистрироваться
Купить машину
на Дроме
Машины
Бортжурналы
Сообщества
Автосервисы и магазины
Барахолка
Самое интересное
Машины в продаже
Запчасти
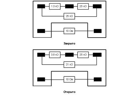
Соленоид продувки адсорбера
Характеристики детали
Производитель
Honda
Артикул
36162PLC003
Название
Соленоид продувки адсорбера
Фотографии
4 фото
Упоминания в блогах
3 записи
Сообщить об ошибке
Где купить
Дром
от 150 ₽
ZZap
от 300 ₽
EuroAuto
1 429 ₽
Фотографии
4
Читать запись
Упоминания в блогах
3
Выберите модель машины
Honda Civic Ferio (7G)
Honda Civic Hatchback (7G)
По лайкам
Комментам
Дате
Проведённые работы и планы // Замена ступичного, установка кнопки вентиляторов
Honda Civic Ferio (7G)
90
42
10 лет
Устранён один из вариантов почему авто не заводится в жару
Honda Civic Ferio (7G)
80
7
6 лет
EGR система
Honda Civic Hatchback (7G)
26
43
11 лет