Доступно только для зарегистрированных пользователей.
Войти
DRIVE2.RU
Автомобильная социальная сеть
Внешний вид
Найти
Войти
Зарегистрироваться
Купить машину
на Дроме
Машины
Бортжурналы
Сообщества
Автосервисы и магазины
Барахолка
Самое интересное
Машины в продаже
Запчасти
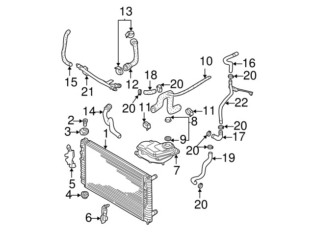
Водяная трубка
Характеристики детали
Производитель
VAG
Артикул
078121081Q
Название
Водяная трубка
Аналоги
1 кросс
Фотографии
5 фото
Упоминания в блогах
6 записей
Сообщить об ошибке
Автозапчасти — это РОССКО
ROSSKO
Реклама
Информация о рекламе
Та самая запчасть в наличии
сегодня
Купить в РОССКО
Где купить
EuroAuto
562 ₽
Дром
от 800 ₽
ZZap
от 800 ₽
Реклама
Аналог
1
Производитель
Артикул
Отзывы
Sakes
2500125701
0
1 фото
Фотографии
5
Читать запись
Упоминания в блогах
6
Выберите модель машины
Audi A6 (C5)
Audi A6 Avant (C5)
По лайкам
Комментам
Дате
Устраняем последствия зимы + замена масла
Audi A6 (C5)
64
15
5 лет
Корячем теплообменник
Audi A6 (C5)
39
9
6 лет
# 60. Замена шланга ОЖ VAG 078 121 096 AD. Краткий путеводитель по шлангам системы охлаждения двигателей 2.4/2.8 (AGA, AJG, ALG, ALF, ACK, APS, ARJ, APZ, APR, AQD, AGE, AML, ATX, AMX)
Audi A6 (C5)
34
41
7 месяцев
Трубка ОЖ и подушка передняя
Audi A6 Avant (C5)
16
0
7 месяцев
Автозапчасти из Европы за 5-7 дней! Список запчастей для VOLKSWAGEN по номеру VIN / OEM / МАРКИРОВКЕ
0
0
1 месяц
Автозапчасти из Европы за 7 дней! Список запчастей, которые мы можем привезти. Часть 432
0
4 месяца