
Продолжение про Вегу.
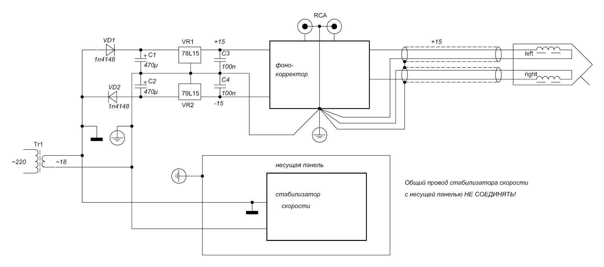
Так, как встроенного фонокорректора в нем нет, решил его собрать по этой схеме
Запустив схему, решил все-таки послушать. Но в моем арсенале пластинок, как танков на Мадагаскаре:) Только две Джорджа Майкла, одна Rainbow и одна Led Zeppelin. Короче — все прослушал, даже не заметил, как прошло несколько часов:)
Но речь сейчас о фонокорректоре. Схема на моем любимом ОУ NE5532, двуполярное питание… . Но в общем, схема простенькая, повторяемая.
P.S. Спасибо отдельное тов. Jackalope за идею про проигрыватель.






Комментарии 54
Судя по маркировке микросхем — это китайское палево перемаркеровка, звука не будет …
Алексей, добрый день. Будте добры печатку на корректор.
А готовой рабочей платы такой на продажу не у кого нет?
Нуу, если-бы были в Украине, то сделал-бы такой экземпляр)
Собрал эту схему корректора .Поставил панельки под микросхему для экспериментов.Поставил вначале OPA2132. Послушал.Заменил на NJM 4558.Гораздо лучше звук стал.Сейчас ожидаю 5532. Посмотрю разницу. По повода фона. У меня усилитель DENON 1000/ На максимальной громкости во время простоя проигрывателя (Пионер 514) есть небольшие потрескивания в динамиках.Для меня это не критично.В остальном хорошая схема.На форуме есть целая ветка по 5532 .ПЕчатку купил-нет возможности делать самому.
Добрый день. Не могу связаться с автором статьи. Скажите где можно купить печатку на эту схему корректора?
Добрый день. У меня есть 2 лишние платы-не такие правда. но схема та же.Подробности в лс
День добрый.
По корректору есть пара вопросов.
Как понизить выходной сигнал а то на усе регулятор при повороте
процентов на 10 уже сильно орет и есть фон
Как понизить усиление корректора и по возможности избавиться от фона.
С Уважением.
swet
cxem.net/sound/soundpred/images/soundpred41-2.gif
В схеме резистор R6L 100k.
Меньше номинал, меньше чувствительность.
Я воспроизвел этот корректор, спасибо. :) Сам по себе корректор неплохой. Хочу поделиться вариантом реализации блока питания.
Фоток прикладывать не буду, я сделал корректор на SMD-компонентах, окромя конденсаторов в частотозадающих цепях, и запихнул это в маленький алюминиевый экранчик от какой-то катушки древнего радиоприемника. Хочу отметить, что экран не обязателен, внешних наводок корректор сам по себе совершенно не ловит.
Поначалу я сделал отдельный блок питания по-феншую, взял трансформатор с обмоткой со средней точкой. Во-первых на максимальной громкости прослушивался некоторый слабый фон, во-вторых наблюдались наводки на голову в виде треска. Чисто из научного любопытства я попробовал запитаться от штатного веговского трансформатора по варианту "проще некуда"- и результаты меня приятно удивили и весьма обрадовали. Во-первых, фон практически исчез! Во-вторых, треск хоть и не ушел полностью, но существенно уменьшился. Прослушиванию он в обоих вариантах не мешал, просто сейчас я уже зажрался и обнаглел- хочу идеального, а в молодости вообще прыгал бы от восторга.
Почему и отчего стало лучше- я не понимаю. :( Если есть какие соображения по поводу дополнительной борьбы с наводками- буду признателен. Кстати, если коснуться пальцем шасси- треск уменьшается. ;)
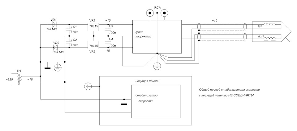
Схему прилагаю. Обратите внимание- голову я подключил максимально по-феншую, двухпроводным кабелем в экране. Кроме того- это важно! — общий провод корректора и головы соединен с несущей панелью, общий провод стабилизатора скорости от нее оторван! Если их объединить- получим дополнительную наводку при работе двигателя, а в таком варианте он никак не проявляется.
Доброе время суток)
Я еще замечал такой эффект — от разных фирм и экземпляров ОУ NE5532, результат был такой: чем "современнее" опер, тем хуже был результат…
В итоге, применил опер со старого эстрадного американского усилителя)
А. То есть вы хотите сказать, что потрескивание- из-за особенностей самого операционника? Вот уж не ожидал такой подляны. :( А главное- у меня-то свежатина в SO8 (потому что была дешевле), даже не китайская, заменить нечем… Просто при поднятом микролифте- тишина! Красота! Даже на максимальной громкости (Sherwood AX5505)… А при опущенном- потрескивает. :(
Попробую исчо под голову подложить бронзовую пластиночку (уже монетку раскатал), и заземлить ее на тонарм (он, кстати, все-таки алюминиевый), а заодно доберу недостающие два грамма к массе головы (у меня вместо унитры поставлена китайская АТ3600). Ну, мобыть исчо поиграюсь с землями, на схеме я не дорисовал немного- второй конец экрана кабеля сидит на трубке тонарма. Вдруг поможет…
Я, вообще-то, это всё писал исключительно к тому, что вот при таком вот примитивном питальнике у меня вышел гораздо более приятный результат по фону и наводкам, чем с "правильным" внешним трансформатором. Даже треска этого пакостного меньше стало. Можете у себя воспроизвести на досуге. ;)
Со своей стороны, если какого положительного изменения по потрескиванию добьюсь- отпишусь со всеми мельчайшими подробностями, авось кому пригодится. А нет- ну, значит, пусть останется как есть…
Интересно, надо будет у себя попробовать с питанием.
Кстати, какой у Вас ЭПУ?
Эм… да такой же, какой и у вас- G1001, 122е Веги другими вроде не комплектовались…
Кстати. Вспомнил. Тут на Радиокоте коротенькая темка, как я боролся со стабилизатором скорости. Успешно, но тоже не понял почему… На всякий случай.
radiokot.ru/forum/viewtopic.php?f=32&t=169469
Ооо, спачибо за информацию)
Добавочка. Последняя, больше не буду вас доставать.
Похоже, я все-таки победил эту гадость…
Во-первых, догрузочная заземленная пластина под головой хоть и оказала некоторое явно положительное влияние, но крайне незначительное. Игры с землей только ухудшили дело, так что пока земля разведена оптимально.
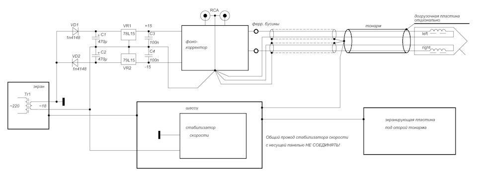
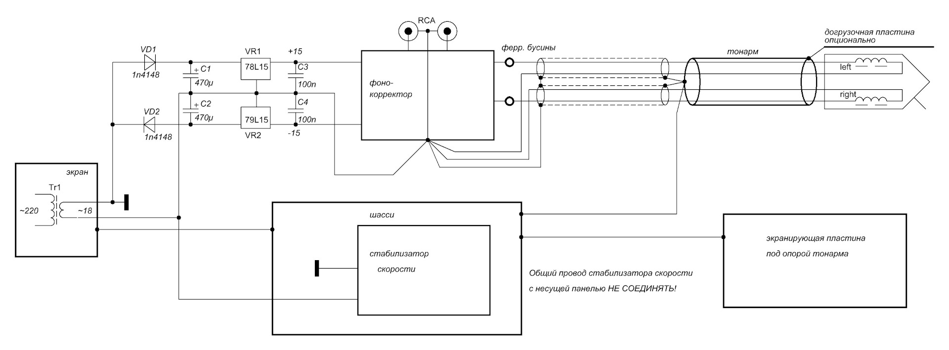
Во-вторых… ваш опыт оказался бесценным. Если б я не знал что древние оперы не трещат- нипочем бы не догадался. Треск- помеха явно импульсная. А чем новые оперы "лучше" ископаемых- догадаться легко. Так что я тупо пропустил входные "горячие" провода через ферритовые бусины. У нас бусинок не купить, так что я выковырял пару штук из остатков ТВ-блока видеомагнитофона ВМ12. Там не совсем бусинки- двудырчатые втулочки, но не суть… Треск уменьшился В РАЗЫ. Я не шучу. Если раньше я его начинал слышать уже на 25% громкости, то сейчас- на 50%, и то если ухо почти в колонку всунуть. Это очень много, для прослушивания я никогда не ставлю больше 15%.
В общем, поиграюсь в микрокапе с подбором каких-нить мелких дроссельков во входную цепь, это уже не существенно…
На всякий случай прилагаю вам окончательную схему со всеми подробностями разводки земель и точек соединения.
Abyr127
А. То есть вы хотите сказать, что потрескивание- из-за особенностей самого операционника? Вот уж не ожидал такой подляны. :( А главное- у меня-то свежатина в SO8 (потому что была дешевле), даже не китайская, заменить нечем… Просто при поднятом микролифте- тишина! Красота! Даже на максимальной громкости (Sherwood AX5505)… А при опущенном- потрескивает. :(
Попробую исчо под голову подложить бронзовую пластиночку (уже монетку раскатал), и заземлить ее на тонарм (он, кстати, все-таки алюминиевый), а заодно доберу недостающие два грамма к массе головы (у меня вместо унитры поставлена китайская АТ3600). Ну, мобыть исчо поиграюсь с землями, на схеме я не дорисовал немного- второй конец экрана кабеля сидит на трубке тонарма. Вдруг поможет…
Я, вообще-то, это всё писал исключительно к тому, что вот при таком вот примитивном питальнике у меня вышел гораздо более приятный результат по фону и наводкам, чем с "правильным" внешним трансформатором. Даже треска этого пакостного меньше стало. Можете у себя воспроизвести на досуге. ;)
Со своей стороны, если какого положительного изменения по потрескиванию добьюсь- отпишусь со всеми мельчайшими подробностями, авось кому пригодится. А нет- ну, значит, пусть останется как есть…
потрескивание- из-за особенностей самого операционника? -…глупость !
Dorik1992
Доброе время суток)
Я еще замечал такой эффект — от разных фирм и экземпляров ОУ NE5532, результат был такой: чем "современнее" опер, тем хуже был результат…
В итоге, применил опер со старого эстрадного американского усилителя)
Кстати, не пробовали Lm833 вместо NE5532 ? Он вроде более малошумящий, цоколевка та же.
Я использовал 833-й в преде-темброблоке, но там, честно говоря, различий не заметил.
Может, с возрастом туговат на ухо стал уже…
Если честно, не пробовал, так как нет у меня в наличии)))
Но спасибо за наводку, хочу попробовать этот опер!
Dorik1992
Доброе время суток)
Я еще замечал такой эффект — от разных фирм и экземпляров ОУ NE5532, результат был такой: чем "современнее" опер, тем хуже был результат…
В итоге, применил опер со старого эстрадного американского усилителя)
в китае всё подделка, со старья — правильно !..
Abyr127
Я воспроизвел этот корректор, спасибо. :) Сам по себе корректор неплохой. Хочу поделиться вариантом реализации блока питания.
Фоток прикладывать не буду, я сделал корректор на SMD-компонентах, окромя конденсаторов в частотозадающих цепях, и запихнул это в маленький алюминиевый экранчик от какой-то катушки древнего радиоприемника. Хочу отметить, что экран не обязателен, внешних наводок корректор сам по себе совершенно не ловит.
Поначалу я сделал отдельный блок питания по-феншую, взял трансформатор с обмоткой со средней точкой. Во-первых на максимальной громкости прослушивался некоторый слабый фон, во-вторых наблюдались наводки на голову в виде треска. Чисто из научного любопытства я попробовал запитаться от штатного веговского трансформатора по варианту "проще некуда"- и результаты меня приятно удивили и весьма обрадовали. Во-первых, фон практически исчез! Во-вторых, треск хоть и не ушел полностью, но существенно уменьшился. Прослушиванию он в обоих вариантах не мешал, просто сейчас я уже зажрался и обнаглел- хочу идеального, а в молодости вообще прыгал бы от восторга.
Почему и отчего стало лучше- я не понимаю. :( Если есть какие соображения по поводу дополнительной борьбы с наводками- буду признателен. Кстати, если коснуться пальцем шасси- треск уменьшается. ;)
Схему прилагаю. Обратите внимание- голову я подключил максимально по-феншую, двухпроводным кабелем в экране. Кроме того- это важно! — общий провод корректора и головы соединен с несущей панелью, общий провод стабилизатора скорости от нее оторван! Если их объединить- получим дополнительную наводку при работе двигателя, а в таком варианте он никак не проявляется.
Добрый день. По мне — так по входу емкости недостаточно.Я бы поставил хотя бы по 2200мкф на плечо. А на выходе 22 мкф.Попробуйте.
Abyr127
Я воспроизвел этот корректор, спасибо. :) Сам по себе корректор неплохой. Хочу поделиться вариантом реализации блока питания.
Фоток прикладывать не буду, я сделал корректор на SMD-компонентах, окромя конденсаторов в частотозадающих цепях, и запихнул это в маленький алюминиевый экранчик от какой-то катушки древнего радиоприемника. Хочу отметить, что экран не обязателен, внешних наводок корректор сам по себе совершенно не ловит.
Поначалу я сделал отдельный блок питания по-феншую, взял трансформатор с обмоткой со средней точкой. Во-первых на максимальной громкости прослушивался некоторый слабый фон, во-вторых наблюдались наводки на голову в виде треска. Чисто из научного любопытства я попробовал запитаться от штатного веговского трансформатора по варианту "проще некуда"- и результаты меня приятно удивили и весьма обрадовали. Во-первых, фон практически исчез! Во-вторых, треск хоть и не ушел полностью, но существенно уменьшился. Прослушиванию он в обоих вариантах не мешал, просто сейчас я уже зажрался и обнаглел- хочу идеального, а в молодости вообще прыгал бы от восторга.
Почему и отчего стало лучше- я не понимаю. :( Если есть какие соображения по поводу дополнительной борьбы с наводками- буду признателен. Кстати, если коснуться пальцем шасси- треск уменьшается. ;)
Схему прилагаю. Обратите внимание- голову я подключил максимально по-феншую, двухпроводным кабелем в экране. Кроме того- это важно! — общий провод корректора и головы соединен с несущей панелью, общий провод стабилизатора скорости от нее оторван! Если их объединить- получим дополнительную наводку при работе двигателя, а в таком варианте он никак не проявляется.
землю подключают в одной точке. а не в 3 х, как у тебя…
Вопрос такой: откуда берете пропитание?
У Веги трансформатор с одной обмоткой без отвода, выдает переменных 18 вольт.
Судя по всему встанет подобный вопрос в ближайшее время- мониторю чужие решения.
Была мысля запилить привычный корректор на к548ун1а (кстати, для Вег весьма оптимальная конструкция по цене/качеству) и запитаться непосредственно от встроенного транса (корректор 24 однополярных вольта кушает), однако- лет 10 назад при создании подобной фигни, помнится, были у меня какие-то затруднения с фоном…
Посему второй вопрос- как себя ведет ваше изделие в этом отношении, как разводили проводку тонарма- и тому подобное…
По питанию — я применил дополнительный, малогабаритный трансформатор.
По поводу фона — всем известно, что тонарм в Веге 122 — пластмассовый. Из-за этого, о экранировке можно сразу забыть)
Я поступал так — внутреннюю проводку еще до впайки корректора, заплёл в "косу" и обмотал в обычную, пищевую фольгу и её "заземлил" на стальное шасси ЭПУ.
А вот сам корректор также поместил в металлическую коробку от СКМ (кто знаком с советскими телевизорами, понимает).
Да, фон есть, но его еле слышно с расстояния ок. 0 5м…
Парадокс в том, что при подключении штатным кабелем к чему-нибудь внешнему фона-то как раз и нету…
Ладно. Будем пробовать. За рекомендации благодарю. :)
Кстати, внутри корпуса ЭПУ есть пара контактов. Когда тонарм поднят, то эта пара контактов замыкает выход с головки на землю.
А когда тонарм опущен (при проигрывании пластинки), то контакты размыкаются, тем самым, сигнал с головки идет на усилитеь.
В курсе. Не одну эту Вегу "профилактировал", даже в одной сделал оптоэлектронный автостоп, помнится… с приводом штока не тонармом, а электромагнитом. Зачем- не помню, вроде как чисто из любви к искусству…
Замена лампочки на красный светодиод- вообще классика. :)
Кстати, сам тонарм там все-таки люминиевый, если мне память не изменяет, кажись даже "заземлен". Вот шелл пластиковый- это стопудово.
Контакты сии отлично помню. :)
Abyr127
Вопрос такой: откуда берете пропитание?
У Веги трансформатор с одной обмоткой без отвода, выдает переменных 18 вольт.
Судя по всему встанет подобный вопрос в ближайшее время- мониторю чужие решения.
Была мысля запилить привычный корректор на к548ун1а (кстати, для Вег весьма оптимальная конструкция по цене/качеству) и запитаться непосредственно от встроенного транса (корректор 24 однополярных вольта кушает), однако- лет 10 назад при создании подобной фигни, помнится, были у меня какие-то затруднения с фоном…
Посему второй вопрос- как себя ведет ваше изделие в этом отношении, как разводили проводку тонарма- и тому подобное…
Попробовал собрать корректор на к548ун1а тоже для Вега 122с. К вопросу питания подошел радикально, собрал все имеющиеся дома батарейки и получил 21 вольт.
И все равно фонит и гудит, музыки почти нет на фоне фона😃😃😃…тьфу пропасть
Как ни странно, у меня был весьма положительный опыт с этим корректором, в качестве внешнего.
У него есть одна фишечка… Во всех схемах микросхема зашунтирована по питанию конденсатором в 0.1 мкф. Так вот емкость этого конденсатора ни в коем случае не должна быть больше 0.1 мкф! Начинаете из лучших побуждений вешать большие емкости- получаете фон и гудеж. Такой вот парадокс.
Мой совет- запитать от 78l24, на выходе коего повесить как раз эту самую 0.1 мкф, разместить кренку максимально близко к микросхеме- и возрадоваться.
В любом случае- поиграйтесь, корректор сам по себе хороший.
Чисто уточниться: ваш пост о корректоре на 548ун1а?
А то у меня на даче та же Вега-122 с корректором, который я собирал лет 25 назад на 548-й и подключал к Кумиру У-001, вроде фона было даже меньше, чем с корректором Кумира через его гнездо "ЗС"
Так что ваше замечание насчет емкости 0,1мкФ интересно, надо поиграться.
Просто я занялся невинным рукоблудием, оно же хобби — привести в порядок дачную аппаратуру, тем более, что там сотня с лишним винила.
Abyr127
Как ни странно, у меня был весьма положительный опыт с этим корректором, в качестве внешнего.
У него есть одна фишечка… Во всех схемах микросхема зашунтирована по питанию конденсатором в 0.1 мкф. Так вот емкость этого конденсатора ни в коем случае не должна быть больше 0.1 мкф! Начинаете из лучших побуждений вешать большие емкости- получаете фон и гудеж. Такой вот парадокс.
Мой совет- запитать от 78l24, на выходе коего повесить как раз эту самую 0.1 мкф, разместить кренку максимально близко к микросхеме- и возрадоваться.
В любом случае- поиграйтесь, корректор сам по себе хороший.
Кстати, не подскажете, как правильно настроить нагрузку тонарма?
Если вы мне- то у меня так и не получилось победить этот корректор. :( В смысле- встроить его в 122ю так, чтоб от штатного транса питался… Фонит как сволочь. :( В итоге сделал на NE5532- и таки запитался от штатного транса! И пофигу что двуполярное- сделал из переменного двумя однополупериодными выпрямителями. Корректор ничего не ест почти, это прокатило. Но совсем полностью фон победить все-же не удалось, как только ни извращался. :( Слабый все-же остался, причем даже не гул, а треск. И точки подключения "земли" менял, и экранировал все что можно, и что только ни делал- увы. :( Даже сигнальные провода через ферритовые бусины пускал- как ни странно, немного помогло, но не полностью…
А что касается тонарма- отстраивать по инструкции.
Хотя, я купил у китайцев голову АТ3600, они дешевые очень и относительно приличные. Она оказалась легче MF105 и чуть меньше по высоте. Отстроить прижимную силу "как есть" не вышло- в итоге подложил под голову бронзовую пластину (раскатал из монетки в 10 копеек), массой что-то около грамма, и подключил ее к "земле" тонармовой проводки- от фона не помогло особо, но тонарм по крайней мере отстроился… Можете тупо кусок пластилина прилепить, если голова легкая- хуже не будет.
Спасибо за развернутый ответ!
Я уже нарыл в сети заводскую инструкцию по эксплуатации Вега-122, буду настраивать.
А корректор, возможно, сделаю на NE5532 или LM833 по размерам и распиновке, чтобы установить в Кумир У-001 вместо штатного, который там на К553УД1.
спасибо большое
Обращайтесь)
Нормально. Напоминает Fagear на Ютубе, как он там свой Олимп переделывает
Олимп?
Блин, моя мечта)))
У меня в селе куча техники пропало или пропадает 😔
Тоже есть Олимп?)
Юпитеры разной степени комплектности…
У самого был Юпитер 106)
Там один Юпитер-205, второй — 204. Если ещё живые…
добрый день. хочу попросить у Вас печатную плату-предусилителя.заранее спасибо
Добрый день. Дайте свой эмэйл)
Добрый день! Можно печатку?
Вечером скину.
Дайте электронку.
Если не устарела тема, можно печатку попросить? Буду признателен) хотим электронику эп 017 оживить
Скину чуть позднее)
Дайте свою электронку.
Получил файлик) огромное человеческое спасибо
Будут вопросы, обращайтесь)
Добрый вечер. Можете поделится печаткой
Я когда делал, делал на этой же опампе. Класс!
Да, NE5532 — класс!
И собранная плата, тоже! Так красиво развёл плату как грузин бабулю с мондаринами!