Все что нужно для установки я купил уже давно
www.drive2.ru/l/2638649/
И вот наконец то все установил. Закончил подключение вечером. Утром уже не мог дождаться когда выеду на нормальную дорогу и смогу проверить работоспособность. И вот он решающий момент, толкаю ручку круиза от себя, отпускаю педаль газа и без особых надежд жду результата… А он есть. Машина держит набранную скорость. Все функции работают. Очень приятное ощущение радости от результата проделанной не зря работы)))

По установке уже есть очень много записей, хотелось бы отметить несколько моментов
Выбор подрулевого переключателя круиза
Их 3 вида:
1. Изогнутая вниз штекер на 5 проводов. Становиться на колонку дорестайл (под гайку)
2. Изогнутая ровно штекер на 5 проводов.Становиться на рестайл колонку (под болт) Если попытаться установить на дорестайл колонку, то будет упираться в ручку стеклоочистителей.
3. Изогнутая ровно штекер на два провода. Это ручка для авто с электронной педалью газа и естественно работает только с ней.
ЭБУ круиз контроля
Тоже есть дорестайл (устанавливаются под капотом рядом с мозгами двигателя) и есть рестайл (устанавливаются в ногах водителя за динамиком) Распиновка у ЭБУ разная и штекеры подключения тоже
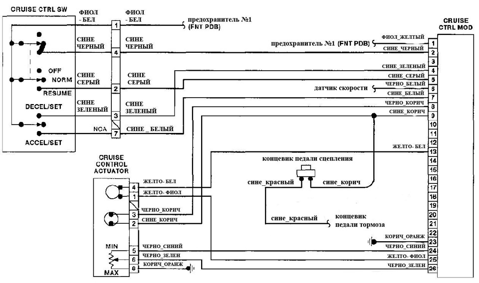
Проводки под круиз у меня не было совсем! Хорошо что мне с кондерной проводкой отдали всю подкапотную проводку и с нее я смог выбрать провода нужной длины и цвета, штекеры и сплести косу руководствуясь вот такой схемой для удобства переведенной на русский






Комментарии 16
Подскажи есть ли у тебя АБС и работает ли она? Сегодня вычитал что круиз не работает если неисправна АБС. А она у меня с обрезанными датчиками…
Абс нет с завода. Круиз никакого отношения к абс не имеет, там принцип очень простой пружина через тросс тянет заслонку на дросселе по датчику скорости.
ABS были на некоторых комплектациях с завода. У меня она стоит и бьется по вин коду. Но она у меня не работает, т.к. до меня пообрезали датчики с колес. Да, принцип понимаю, но тут дело в другой электронике, за которой следит мозг круиза.
Читал на форуме e34.su как тип установил себе круиз, поддомкратил зад и начал тестить. Разогнал скорость до 60 км\час (стоя на месте). Круиз включился и выключился через 1-2 секунды. А когда выехал на трассу там все было как надо. Он подумал что дело в АБС, т.к. только она могла сказать что передние колеса не крутятся.
Моя еще одна догадка — это ЭБУ, от которого исходил слабый сигнал нагрузки, поэтому круиз мог отключится. Вобщем, собиру, проверю, а там видно будет.
Я уверен что абс не причем. Посмотри в этом посте схему подключения. Мозги круиза с авто берут два плюса для питания, минус и сигнал скорости. Все. Скорее всего где то "сопли" по проводке либо жабка под педалью сцепления мучает)
AlexBelikov
ABS были на некоторых комплектациях с завода. У меня она стоит и бьется по вин коду. Но она у меня не работает, т.к. до меня пообрезали датчики с колес. Да, принцип понимаю, но тут дело в другой электронике, за которой следит мозг круиза.
Читал на форуме e34.su как тип установил себе круиз, поддомкратил зад и начал тестить. Разогнал скорость до 60 км\час (стоя на месте). Круиз включился и выключился через 1-2 секунды. А когда выехал на трассу там все было как надо. Он подумал что дело в АБС, т.к. только она могла сказать что передние колеса не крутятся.
Моя еще одна догадка — это ЭБУ, от которого исходил слабый сигнал нагрузки, поэтому круиз мог отключится. Вобщем, собиру, проверю, а там видно будет.
Да, и еще круиз же с 40 км начинает работать
Да, я вкурсе, спасибо!
Отлично, рад, что обновка заработала, поздравляю!
Спасибо! Сам еще не нарадуюсь)
Отличная штука. Я пользовался на трассе и даже в городе (правда на BMW X5 и Pajero 4). Расход получается на 1-2 литра меньше. Видимо из-за того, что поддерживает скорость поплавнее, чем я педалью :)
Я тоже обратил внимание что скорость педалью так ровно удержать не получиться .
Вот, поняли меня. Ато я что то запареный не смог доконца объяснить, что хочу сказать :)
Педалью все равно резкие рывки получаются. А круиз все же может потерянные 1-2 км/ч восполнить :) А я один раз нажму — уже подаю намного больше топлива :)
Ай да рукодельник наш Ромка!
Бывает)
Вещь интересная, была на е34 у меня, но пользовался ею один раз только((
Не знаю как у вас в Донецке, но у нас здесь с круизом особо не погоняешь(
Хотя для количества ништяков в машине пойдет!
Поздравляю!
Пока радуюсь обновке, то умудряюсь включать и в городе, правда не на долго)))) Для трассы вещь просто не заменимая! Спасибо за поздравления.
Пользуйся на здоровье!))