Это мой самый "молодой" авто, принципиально отличающийся от тех Ауди, на которых я раньше катался и обслуживал.Все процедуры наверное уже где то описаны, поэтому запись будет носить скорее позновательно-информативный харрактер для меня.
Первое ТО после покупки. Нужно все посмотреть-пощупать для представления, где что находится.
Похоже что авто периодически обслуживалось, поэтому проблем с откручиванием болтов\винтов не возникло.
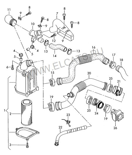
Фильтр воздушный VAG 8Z0 129 620






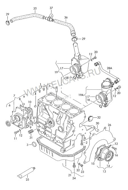
Маслоотделитель VAG 036 103 464 AH
до октября 2001 г поставлялся 036 103 464 G
Уплотнительное кольцо VAG 036 103 677
Уплотнительное кольцо VAG N 906 175 01





При замене масла, на маслозаливной крышке и трубке были выявлены интересные "выделения". Почитав немного "интернета" пришел к выводу что это обычное явление для этих моторов. Периодически нужно чистить
систему рециркуляции выхлопных газов. Зимой чача замерзает и может доставить большие неприятности
Маслоотделитель крепится на 3-х винтах ( VAG N 104 326 01 ) с внутренним шестигранников на 5.
В моем случае маслоотделитель был не сильно забит, т.к. был уже заменен на Topran115405
Но при снятии все же вытекло немного воды. Шланги были не очень забиты но заполнены резиновыми крошками. Все залил очистителем карбюратора и вымыл
PS:
Заменил разбухшую мембрану и уплотнительные кольца маслоотделителя www.drive2.ru/l/490807698061787794/
Заменил резервуар для масла — www.drive2.ru/l/494822289892704293/
Поменял потрескавшийся заливной гофро-шланг — www.drive2.ru/l/496902291014549637/















Комментарии 13
Вот сомнения насчет прошивки мозгов, учтут ли стоковые изменение давление во впуске?
Все, вижу, до дросселя. Я хочу переделать как в новей моторах, за дроссель.
Если получится- поделитесь . ок?
ЕГР многие глушат физически. Гадость.
Заглушив ЕГР, полностью не решишь проблему.
Если ты про сапун, то это да, может замёрзнуть.
Я сначала немного офигел, от такого количества "майонеза":) подумал пробита прокладка, антифриз загоняет.
YZR
Если ты про сапун, то это да, может замёрзнуть.
Сапун — это имеется ввиду маслоотделитель?
Да
YZR
ЕГР многие глушат физически. Гадость.
ЕГР и ВКГ, разные вещи.Без лютого чиптюнинга на А2 ЕГР не заглушишь без последствий, движок будет козлить, мозги слишком умные, вникал в эту проблему, хотел решить малой кровью, оказалось чтобы движок заработал как надо, нужно было заменить расходники(ГРМ, помпа) вместе с клапоном ЕГР.Дороговато, зато по ДВС, ЕСП, АБС, АСР ошибок больше не вылазиет.Не навязываюсь, просто мысли вслух.
Ну, не такой уж он лютый, всего одна карта в прошивке;-)
У нас в радиусе 100км не найти такого спеца, кто взялся бы электрику на Адвашке посмотреть, а не то что в мозгах ее копаться.С электрикой сам разобрался, а эксперементы с прошивкой боюсь не мое.
Baygu
ЕГР и ВКГ, разные вещи.Без лютого чиптюнинга на А2 ЕГР не заглушишь без последствий, движок будет козлить, мозги слишком умные, вникал в эту проблему, хотел решить малой кровью, оказалось чтобы движок заработал как надо, нужно было заменить расходники(ГРМ, помпа) вместе с клапоном ЕГР.Дороговато, зато по ДВС, ЕСП, АБС, АСР ошибок больше не вылазиет.Не навязываюсь, просто мысли вслух.
Главное чтобы авто приносило положительные эмоции.
Будь это езда на ней или возня с ней.)