Всем привет. Совсем недавно, собрался утром за покупками в супермаркет, выехал со двора — проехал 300 метров, бортовой компьютер запищал как резаный и на приборке высветилась ошибки VSA+ABS.

Сканера под рукой нету, не долго думая, решил осмотреть сразу задние колеса, так как ранее были заменены тормозные суппорта, а тросик ручника оставил до лучших времен. И я был прав, правое заднее колесо было зажато суппортом, — закусило правый трос ручника.
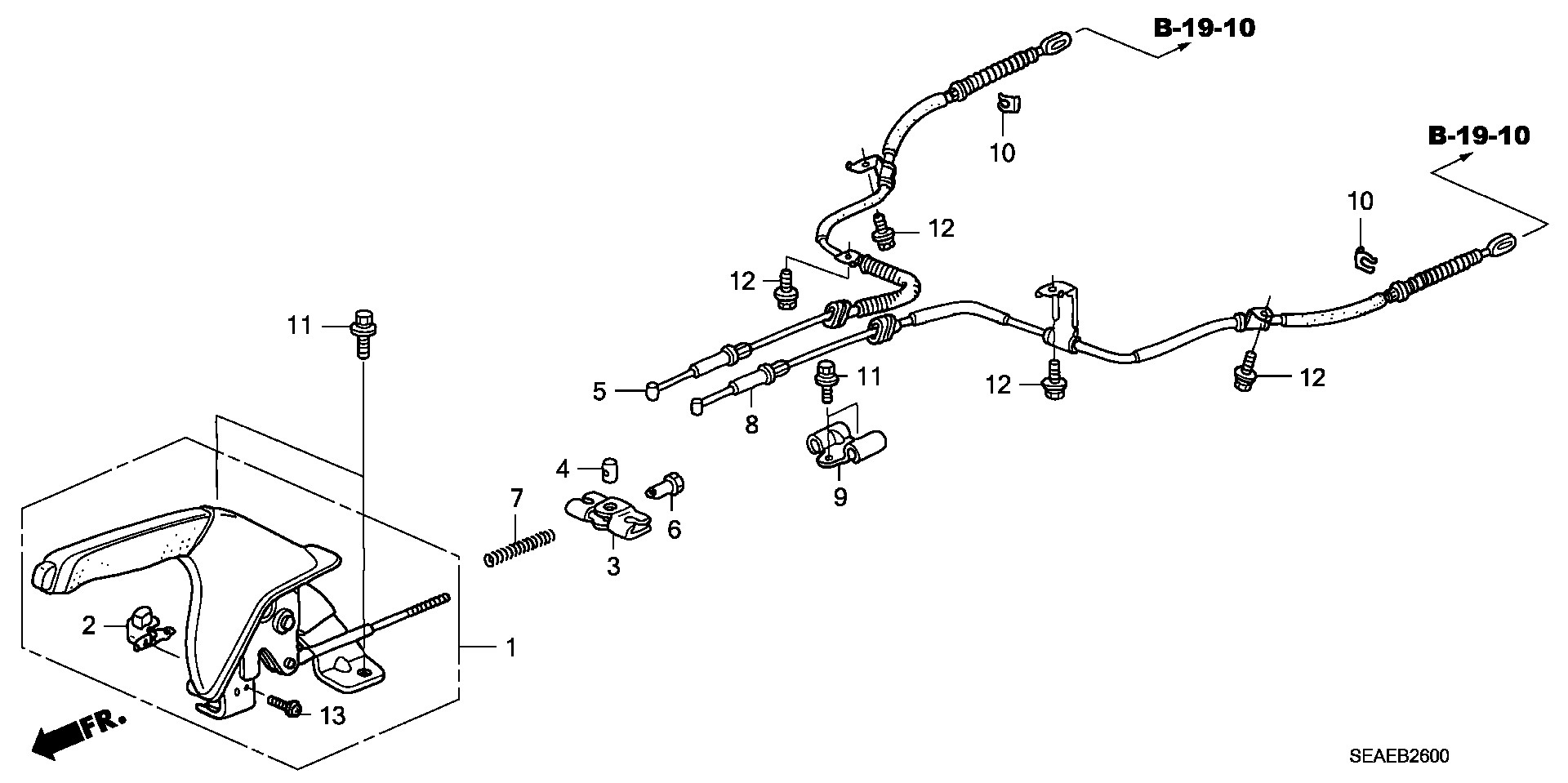
Схеме тросов ручника:

Решил снимать колесо, и вернуть трос в нейтральное положение, и расстроенный пошел за покупками и с мыслями о новом тросе.
Артикулы левого и правого троса:
Трос стояночного тормоза левый HONDA 47560-SEA-E03 — цена нового — 2409 грн. / 5098 руб.
Трос стояночного тормоза правый HONDA 47510-SEA-E03 — цена нового — 2628 грн. / 5561 руб.
Цены конечно "Конь", аналоги были от 800 грн. / 1693 руб.
Решил искать на разборках, и о чудо нахожу и левый и правый трос по смешной цене в 400 грн. / 847 руб.




Вношу предоплату, и через день они у меня. Один трос пробегом 50 тыс миль, другой 80 тыс миль, состояние на смотрите на фото, резинки целые, работает идеально.
Старый скорее "мертв", чем жив))

Замена не сложная, но без ямы или подъемника никак, цена вопроса 150 грн. / 320 руб.
После замены, ручник работает исправно, люфта кулисы ручника нет, рад и счастлив. Теперь по снегу можно в поворот немного заходить с ручником)
Всем добра и полного бака)






Комментарии 9
Я вот понять не могу, по вину смотрю свой трос длина троса 2194, твой 1720, но в применимости якобы подходит на мой… в чем прикол) крепления похожи… нужно снимать свой и замерять длину, твой дешевле и есть аналоги…
я левый BluePrint взял за 800 грн. вроде норм)
по аналогу BluePrint бьется около 800 грн новый, но лучше конечн оригинал б/у
ставил BluePrint на шкоду, разочаровал — поставил бу оригинал
Цена нового конечно заряженая ! )
нафик он не нужен за почти 80 и 90 уе))) а эти что купил минимум 50 тысяч отходят, а там смотри уже и 8 аккорд будет)
Это точно !
Хорошо что нашлись на разборке )
Андрюха если нужно, дам контакты — там ещё штук 5 и левых и правых есть
Та пока тьфу тьфу )
Вроде все работает пока что )))
Если что тебе напишу 😊