Решили с братом сделать отцу DRL.

Начитавшись на форуме как это можно организовать, принялся за воплощение замысла в реальность.
Для начала был приобретен кабель MINI-VCI J2534 Цена 23 Euro

и была скачана актуальная версия программы ETACS Decoder 6.0.2.1
с официального сайта. При первом входе в программу необходимо зарегистрироваться (придумать ЛОГИН и ПАРОЛЬ) поставить отметку сохранить и выслать данные на сервер.
Затем необходимо выбрать Ваш тип кабеля и COM Port к которому он подключен (диспетчер устройств -> Com port -> Свойства).

ВНИМАНИЕ эта программа уже платная (цена 8$ за 5 успешных записей в ETACS).
После этого подключаем кабель к OBDII разьему и включаем зажигание. Лампочки внизу должны быть либо зеленые либо первая голубая.

Затем заходим в закладку ETACS, активация производится путем изменения 2-х настроек:
1. Активация самой функции DRL:
DRL function –> Present (can change)
2. Выбор типа DRL:
DRL type ->
Normal DRL — Обычные. Можно подключить на компьютерной диагностике у диллера. После запуска двигателя в любых положениях переключателя ближний свет будет работать как в положении выключателя "СВЕТ".
Normal DRL with P — Все тоже как в Normal DRL, только в зависимости от положения ручного тормоза. Т.е. когда заводите машину и она на ручном тормозе, то DRL не включится, пока не опустите ручку ручного тормоза, после чего DRL будет гореть до момента выключения двигателя.
Dimming DRL — Притухающий. Делается путем правки настройки DRL Type в Variant Coding ETACS. Требует замену существующего реле* на специальное электронное реле управляемое по принципу ШИМ (широтно-импульсная модуляция). После запуска двигателя ближний свет будет гореть в полнакала, экономя ресурс ламп, без габаритов при условии нахождения переключателя в ВЫКЛЮЧЕНО, ГАБАРИТЫ или АВТО (днем). Если включить в СВЕТ, то включится штатная работа: ближний свет плюс габариты.
Dimming DRL with P — Все тоже как в Dimming DRL, только в зависимости от положения ручного тормоза. Т.е. когда заводите машину и она на ручном тормозе, то DRL не включится, пока не опустите ручку ручного тормоза, после чего DRL будет гореть до момента выключения двигателя
Independent DRL — Независимый. Делается путем правки настройки DRL Type в Variant Coding ETACS. Требует установки дополнительных огней или подключения противотуманок вместо дополнительных огней (необходима перемычка в коннекторе, чтобы противотуманки работали и как противотуманки, и как DRL). После запуска двигателя будут гореть дополнительно установленные огни, или противотуманки без габаритов при условии нахождения переключателя в ВЫКЛЮЧЕНО, ГАБАРИТЫ или АВТО (днем). Если в качестве дополнительных огней использованы противотуманки, то при включении света (переключателем, или датчиком) они гасятся и их можно включить штатно в дополнение к свету как обычные противотуманки. Требуется установка дополнительного реле.
Independent DRL with P — Все тоже как в Independent DRL, только в зависимости от положения ручного тормоза. Т.е. когда заводите машину и она на ручном тормозе, то DRL не включится, пока не опустите ручку ручного тормоза, после чего DRL будет гореть до момента выключения двигателя.
Я изменил на последнее Independent DRL with P.
Затем согластно инструкции необходимо было приобрести дополнительное реле MR588567 и установить его в разьем вместе с перемычкой к центральному контакту реле ПТФ


и тут меня ждал сюрприз… Как оказалось, проводка там не подведена. Пришлось воспользоваться вторым вариатном и вставлять перемычку непосредственно в блоке ETACS.


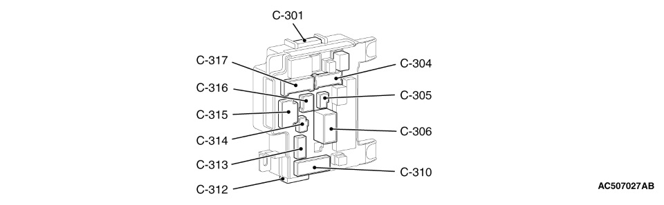
Этот блок находится в подрулёвом пространстве, чтоб к нему добраться необходимо разобрать пластик под рулем.



Затем нужно в фишке С-312 соединить пин 4 ПТФ с пустым пином 10 DRL перемычкой. Я это сделал путем врезания в синий кабель 4 пина.




Результат на фото и видео






Комментарии 9
Вот это квест. Ну его нафиг.
Да все не так страшно как кажется на первый взгляд.Это один из путей самурая)))
Так себе квест, пугают почившим ЕД и чужими фото :D
Спасибо, за подробности. Тоже надо такое реализовать)
Давно есть бесплатные проги по прошивки етакса
К сожалению, сразу их не нашел, а наткнулся на старые версии ETACS Decoder (4,5), которые раньше были бесплатными. Но 6, уже идет платная.
Не подскажите, какие жто программы? За ранее спасибо.
vk.com/mmcodingwriter
NickIrk
Давно есть бесплатные проги по прошивки етакса
Тоже интересно узнать про проги )
vk.com/mmcodingwriter