На этот вопрос мне приходится отвечать регулярно. Тем более я действительно не писал почему выбрал двигатель именно от Зил-130/131 (правильное название двигателя ЗИЛ 508).
И действительно выбор наверное кажется странным.)


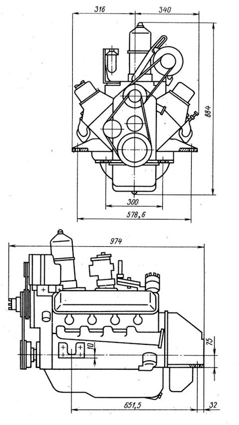
Характеристики двигателя, в кратце:
Объем двигателя — 6.0л
Максимальная мощность -150л.с. при 3200об/мин
Максимальный крутящий момент — 410Н при 1800об/мин
Максимальные обороты двигателя — 3200об/мин
При этом вес двигателя в сборе с КПП и навесным — 640!кг
Вес коленвала с маховиком и сцеплением — 110кг)
До кучи у него ещё и расход бензина измеряется вёдрами. Ну и ещё есть много непривычных приколов.)
Действительно выбор странный. Прямо говоря этот двигатель совершенно не для легковой машины. Но у меня машина хоть и легковая, но крайне необычная — мне можно.)
Пришёл я к этому мотору не сразу. Ещё год назад, когда я был молод и глуп), я поставил в свой родстер японский V8 1UZ-FE.

Мотор уже стоял в машине, закреплён, с трансмиссией, с охлаждением. Вообще изначально под узэт всё проектировалось. Через какое-то время пришло прозрение. Я строю родстер в ретро стиле 40-50-ых годов стилизованный под вымышленный спортивный ЗИЛ. Характерные зиловские детали обязательно будут на машине — передняя решетка радиатора с надписью ЗИЛ, педали, руль, все тоже с красивыми надписями ЗИЛ.




Весь кузов тоже будет в стиле облицовки радиатора зил-157 (скоро про кузов тоже отдельно напишу).
Капота на родстере не будет — двигатель будет открыт со всех сторон. Современный мотор на виду у ретро машины заставил засомневаться. Так же визуально относительно габаритов машины японский V8 был непропорционально маловат. И ещё я понял, что гонять на этой машине я не буду. Мне нужны крейсерские 30-40км/ч и на всякий случай запас по максимальной скорости примерно до 90-100км/ч. Динамика и большой вес более-менее не важны. Важна харизма. Ну а дальше все понятно. Движок нужен древний, большой, брутальный, с харизмой, желательно советский и наверное зиловский. Учитывая мои требования к машине — технические характеристики двигателя не важны. Появилась делема — Зил-157 рядная шестёрка, либо Зил-130 V8. Архаичный 157-ой 6-тицилиндровый, рядный плоскоголовик просто классный вариант!

Наверное правильнее было бы его ставить. До сих пор есть сомнения.

Но учитывая мою страсть к бензиновым V8, всё же сделал выбор в пользу двигателя ЗИЛ 130.

Ещё двигатель со 130-ого мне подходит по габаритам — он большой, как и мой родстер. У меня с Зил-131 двигатель. От 130 отличается только навеской. Огромным воздушным фильтром, большой заливной горловиной масла.


И у меня ещё кое что сверху на нём будет большое стоять, но об этом позже. По итогу двигатель с навесным у меня будет выше лобового стекла.

Ещё почему то многие спрашивали почему двигатель не от ГАЗ-53?
1. Он внешне маленький для моей машины. Зиловский длиннее его на 20см и шире.
2. Его ставят массово в Волги. Т.е. распространенный свап. А мне очень важно чтобы всё было максимально необычно и абсолютно не как у всех.
3. А почему вообще Газ-53? Чем он лучше Зила? Кстати везде пишут, что не чем не лучше, а хуже.
Из наиболее интересного был даже совет, что вроде как правильнее с правительственного ЗИЛ-111 было бы мне мотор себе в родстер поискать.)

Даже не представляю во сколько бы он обошёлся.) А внешне всё вроде тоже самое.
Комментарии 181
В блок ЗИЛ-130 поршневую от УРАЛА на 108! Головки оставить 130 и на газу будет ракета ! Только карбюратор новый от, , ПЕКАР"мод.К 89АИ, и зажигание безконтактное с 351 распределителем!
Педаль с надписью ЗИЛ красивая. С какого именно ЗИЛа она?
Я со 131-ого ЗИЛа покупал. Но на 130-ом тоже такая стоит.
Хороший пост) Почему то я только сейчас его обнаружил)? Наверное потому, что начал искать всю информацию по моторам ЗИЛ, который в сети совсем не много, а интересных проектов с этим мотором и Вовсе раз два и обчелся. Можно ли поставить через переходник фильтр современный вместо центрифуги, как делают на змз?
Я не интересовался по поводу переходника. Меня центрифуга устраивает. Даже более. Она с характерным звуком работает ещё около минуты после остановки двигателя. Это как бы огромный плюс к харизме.
Да, я понял уже.тоже оставлю ее.
Вся эта необычная архаичность мне наоборот на руку.
Да, я такого же мнения. Сам в этом направлении хочу делать машину
Все отлично получилось! Но круче бы поставить мотор от Урал 375 7.0л. 180.л.с. правда его достать труднее. тоже Зил по сути.
Согласен. Пробовал найти этот двигатель. Сложно и дорого получалось. Решил оставить как есть. Тем более у меня двигатель практически новый. Целенаправленно 7.0 искать не буду. Если само собой подвернётся какой нибудь сладкий вариант тогда да, будет 7.0.
Тогда Да! от добра добра искать, если новый мотор у вас! )) У меня на 21 Волге стоит "консервный" почти стоковый 5.5л БРДМ2 вполне хватает его с карбом к К114. Если только Вам еще поставить четырехкамерный карб, наш К-114 или США, тогда и 6.0л.совсем по другому поедут и 7.0л не надо мудрить!
second
Согласен. Пробовал найти этот двигатель. Сложно и дорого получалось. Решил оставить как есть. Тем более у меня двигатель практически новый. Целенаправленно 7.0 искать не буду. Если само собой подвернётся какой нибудь сладкий вариант тогда да, будет 7.0.
Гильзы и поршни под 7л. легко ставятся на Ваш двигатель. Комплект "Ураловская поршневая" и будет у Вас 7.0 литров.
А потом я проснулся…
Владельцу заурядной машины наверное это сложно понять
Отличная задумка.Приподнять бы степень сжатия, под 92 бензин, и параметры подростут за одно.А сегодня уже есть возможность инжектор внедрить, получится просто пушка.
Меня устраивают и эти параметры. Цели их поднимать нет. А бензин говорят он и 92 нормально переваривает.
Решать тебе, конечно. Если не напрягает масса и расход Зиловского ДВС, ставь конечно.
Ну а в целом:я бы не отметал вариант Газоновского или Пазовского v8. Они легче(это очень сильно повлияет на поведение машины, и на ресурс элементов подвески).
В отличии от Зиловского, Газоновский бенз не жрёт, а нюхает(на работе есть несколько единиц техники с 53 моторами, ну и ЗиЛ остался). Зил-тот ещё проглот.
В любом случае, с удовольствием прослежу за развитием проекта. Желаю удачи в этом нелегком деле
Выбор уже сделан. Двигатель куплен и установлен. Со временем я стал абсолютно уверен в правильном выборе мотора.
Не сомневайся, парень, ты сделал правильный выбор👍🤘
Мотор от газона красивый который старый с литыми клапанными крышками…но раз такой поставить захотелось то почему бы и нет собственно😎
отличная идея.
Как Вам нравится — так и делайте. Авто же для себя? На повседнев и другие авто есть. А звук 8-ки несравним :-).
и мысль именно ЗИЛовское все ставить очень правильная
Удачи.
Думается слишком тяжёл для такой рамы
Рама из профиле 100х50х4. Расчеты были. Все с запасом.
Зиловский моторчик длинее ГАЗоновского не на двадцать сантиметров, а сантиметров на пять.
Визуально вообще незаметно по габаритам. Что то вы намудрили
Зиловский мотор длиннее газоновского больше чем на 20 сантиметров. Чертежей в интернете с размерами полно.Визуально это тоже видно. Газ 53 в Волгу ставят. ЗИЛ не влазит
Абсолютно верно. Тоже мерил и сравнивал эти моторы. От Газона кажется игрушечным в сравнении с Зилом. Одна высота в 1 и длина в 1 метр чего стоят.Ширина без компрессора и бачка Гура тоже шире на 10 см.
Зиловский моторчик длинее ГАЗоновского не на двадцать сантиметров, а сантиметров на пять.
Визуально вообще незаметно по габаритам. Что то вы намудрили
Я не вижу на этих чертежах размеры, которые можно сравнить. Посмотрел по межцилиндровому расстоянию, у ЗИЛа на 1,2 см больше. Коленвал длиннее на 8 см. Как можно набрать аж 20 см длины, если коленвал длинее только на 8 см?
На этих чертежах есть конкретные цифры по длинне моторов, с которыми не согласиться не возможно. Кроме коленвала с межцелиндровыми расстояниями есть ещё другие геометрические параметры — блок двигателя и обвеска. И как мотор может быть длиннее всего на 5см если только колено длиннее на 8см?
640 кг сложно представить даже. Ваш uz весил около 260 с коробкой, газоновский 280. Как будет весии себя машина с такой чугункой
От машины требуется необычный внешний вид, харизма и крейсерские 30-40км/ч. Все остальное вообще не важно и не нужно. Вес, динамика, комфорт вообще не важны. Но всё же развесовка получается 50/50, мотор ровно в середине базы. Расчетный вес машины 1600кг +-100. Наверное не все так и плохо, хотя это не важно)
Поддерживаю автора. Такой двигатель берет харизмой . вес, динамика и комфорт все потом. рамный автомобиль вес переживет, особенно с такой развесовкой.
Со 157го зила мотор очень капризный и вы с ним намучились бы, особенно заводить зимой.
интересно с какого перепуга? с нормально отрегулированными клапанами и выставленным зажиганием в любую погоду как часы.
Не знаю, почему… Надо глянуть степень сжатия, может оказаться, что просто из-за низкой степени под древние бензины, смесь нагревается при сжатии до более низкой температуры. Какой тогда был, А-66 что ли?
На заправках самое низкое октановое число было А-72. В Ставропольском крае ниже я не встречал. И 157-е нормально на нём работали. Друг моего отца работал на кране на базе ЗИЛ-157 (с горбатой стрелой). Конец 70-х, начало 80-х. Спокойно на 72-м заводил его в любое время года. А тогда зимы были гораздо холоднее, чем сейчас.
Я спокойно ездил и на смеси бензина и солярки.
Ездить одно, заводить-другое.
Ну в общей сложности я откатал на рядной шестерке года три. Знаю как и на чем она заводится и на чем едет. Был зил 157, а также 130 тоже с рядной шестеркой. Для меня этот двигатель лучше чем v8.
Alex26-ru
На заправках самое низкое октановое число было А-72. В Ставропольском крае ниже я не встречал. И 157-е нормально на нём работали. Друг моего отца работал на кране на базе ЗИЛ-157 (с горбатой стрелой). Конец 70-х, начало 80-х. Спокойно на 72-м заводил его в любое время года. А тогда зимы были гораздо холоднее, чем сейчас.
В конце 70-х вполне себе 66-й бензин на заправках продавали
Объясняю для непонятливых: В Ставропольском крае!
Я понятливый, я его в батин 408-й заправлял в 1977 году на заправке в Крыму
ratonga
Со 157го зила мотор очень капризный и вы с ним намучились бы, особенно заводить зимой.
Мотор менять не буду. Будет 130-ый
ratonga
Со 157го зила мотор очень капризный и вы с ним намучились бы, особенно заводить зимой.
Если на него вместо родного зажигания воткнуть что-нибудь типа secu-3, то заводится от прикосновения к ключу 😁 На ютубе попадалось такое.
ratonga
Со 157го зила мотор очень капризный и вы с ним намучились бы, особенно заводить зимой.
На канале Полигон 98 у ребят есть 157й.морозы были, они всю свою технику запускали. ЗиЛ запустился легко.
Дело в другом:запчасти на него найти сложнее, он не любит оборотов. А у v8 есть запас по мощности
ratonga
Со 157го зила мотор очень капризный и вы с ним намучились бы, особенно заводить зимой.
20 лет пользую 157-й мотор-вообще никаких проблем ни летом ни зимой
Посмотрите на ютубе, что с этим двигателем делают ребята с Motor Heart Garage, думаю и вам эти доработки будут в тему
Интересные крышки клапанов, где такие можно найти ?
Да вроде хватает их. Я как то без труда по объявлениям нашел.
👍
👍🏻
Хороший мотор выбрал.) Молодец!
Зил-111 это считай тот же движок зил-130, но за счет 4х камерного карбюратора и иных впускных коллекторов смотрится более необычно
Это двигатель из красной книги, со всеми вытекающими… Поэтому не рассматривал его и не буду.)
И вообще-очень крутая идея. В наших краях такого точно нет.
Именно так и задумывалось. Географические масштабы только намного побольше.)
Вы забыли ещё один большой плюс этого двигателя-запах выхлопа. Каеф) Я как-то ехал за 131-м с буровой установкой и долго не перестраивался) В армии 15 лет назад тоже довелось иметь дело с ЗИЛами-до сих пор тёплые воспоминания)
Максимальный крутящий момент — 410Н при 1800об/мин !
И 350Н доступны сразу с холостых)
Не так уж много для 11-тонной машины
С поправкой на возраст всё очень даже не плохо.)
DmitryTheFirst
Не так уж много для 11-тонной машины
Здравствуйте. Не забывайте, что на 131-х была понижайка. Это авто в лесу с 7 метровой шалыгой и 12 м3 берёзы шло спокойно, правда если с лебёдкой, то сзади сразу получался бассейн :).
На трассе, ДА- 60-70 км/ч это потолок и расход за 50 на сотню. У автора будет вписываться в 30 литров.
Задний мост не надо от зила. Надо от какого-нибудь джыпа. И по расходу в 20 литров уложится. Но только по трассе 😁
У меня задний мост от Форд Транзит.
А про ЗиЛ-375 уже писали? :)
Конечно)
Ах, этот звук останавливающейся центрифуги!
А если убрать родной вентилятор, и для охлаждения приспособить электрический, можно уйти от фирменного зиловского воя, тогда будет больше брутального бульканья V8
Электрический вентилятор мне по религии сюда нельзя.) Вентилятор будет с механическим приводом, но с очень необычным.
Кардан или угловой редуктор?)
Нет. Ремень. Только привод от двигателя, а вентилятор не на двигателе
Двигатель не статичен относительно рамы и кузова, поэтому ременный привод от двигателя к вентилятору, который не на двигателе, по моему сомнительная затея
Может быть. Но другого варианта не вижу.
Svalk
Двигатель не статичен относительно рамы и кузова, поэтому ременный привод от двигателя к вентилятору, который не на двигателе, по моему сомнительная затея
После вашего комментария появилась мысль закрепить вентелятор на двигатель. Думаю теперь как это красиво реализовать.
Решение плюсую за харизму и кондовость.
Хотя… в рядном 157 тоже что-то есть. Тепловозное.
Очень V8 хотелось)
А почему бы не поставить этот огромный воздухан сбоку, к примеру, возле кожуха сцепления?
Зачем? У меня в планах его оставить на своем месте. Только возможно ещё чуть выше. И ещё там воздухозаборник будет. Который будет даже выше рамки лобового стекла.
Сбоку его тоже можно красиво обыграть, да ещё трубу наподобие шноркеля влепить.И перед глазами не будет маячить, как труба паровоза.
Так в этом наоборот как раз и есть весь сок. В первую очередь харизма. Комфорт и удобства идут в жертву. Ради этого я даже от постановки на учёт отказался. Вообще не важно, что там будет перед глазами. Я наоборот от огромного 131-ого фильтра на этом месте балдею.)
Провода убрать чтобы красивую надпись на крышках не загораживали.
Капот должен быть. Без него вид будет не цельный. Вижу его в таком плане)
Брызговиков на колёсах и капота не будет. Мне нравятся хот-роды без капотов с высокими воздухозаборниками. Так будет и у меня. Для капота там даже не будет места. Потом увидите.
Неужели Рутс?
А что за Рутс?
Приводной нагнетатель ))) Первая контора, которая их делала, так называлась. Годах, хз, в 30-х. Нагнетатель типа Рутс.
Стыдно.( Не знал. Нет. Нагнетателя не будет. А вот воздухозаборник с заслонками будет.
обычно воздухозаборник с заслонками, который в открытои исполнении над капотом, идет вместе с механическим компрессором. но это америка так делает. не уверен что зил мог поставить компрессор на свои спорты. хотя… технически он ставится без проблем. учитывая СЖ=6,5 без пиления ГБЦ.
У меня воздухозаборник будет, а компрессора не будет.
Зато красиво) с компрессором та еще морока.
second
Стыдно.( Не знал. Нет. Нагнетателя не будет. А вот воздухозаборник с заслонками будет.
Двигатель V8, установленный на ЗИЛ‑130, упрощенный вариант мотора, который устанавливали с 1958 года на представительский ЗИЛ‑111. При рабочем объеме 6,0 л (100×95 мм) степень сжатия для грузовика понизили с 9,0 до 6,5, мощность – с 200 до 150 л. с. при 3200 об/мин.
second
Брызговиков на колёсах и капота не будет. Мне нравятся хот-роды без капотов с высокими воздухозаборниками. Так будет и у меня. Для капота там даже не будет места. Потом увидите.
У вас не классический облик, задней части по крайней мере, а следовательно и конечный результат будет иным. Интересно будет его увидеть!
Отличный мотор! А как он звучит! Поставьте его родной выхлоп чтобы сохранился тот самый звук ЗИЛ 130))
Вот я пока не решил, звук Зил-130 или что-то другое.
К планируемой внешности звук 130-го подойдёт и добавит антуража))
second
Вот я пока не решил, звук Зил-130 или что-то другое.
конечно другое, учитывая что при 40 обороты на пятой близки к холостым.
AksOnOff
Отличный мотор! А как он звучит! Поставьте его родной выхлоп чтобы сохранился тот самый звук ЗИЛ 130))
Тогда и кузов родной ХЛЕБ надо ставить
Может МОЛОКО
Всё правильно!))
Хотя и рядная 6ка тоже бы вписалась отлично!))
Интереснее было бы поставить рядную шестёрку, но очень хотелось V8.)
Есть хотрод с самолетной звездой. Есть с танковым мотором. Ну почему бы с зиловским не быть?
Но ты всеравно маньячило)
С танковым мотором классный вариант. Но где его найти…
Их в продаже хватает, тепловозные клоны дизеля от т-34, но ездить на этом не получится, он дымит как паровоз, жрёт масло ведрами и не любит низких оборотов. А, ещё он сухокартерный.
Понятно. Просто интересно посмотреть. Где их продают?
А это в Беларуси dtz.by/zapchast/dvigatel-d-12/
Вот про это я и говорил
second
Понятно. Просто интересно посмотреть. Где их продают?
Тепловозы узкоколейные ТУ4 и ТУ7, если склероз не изменяет, обтрудовались такими, правда, сейчас уже редкость
second
Понятно. Просто интересно посмотреть. Где их продают?
Эти двигатели применяются на пожарных автомобилях ПНС-110.Чумовой аппарат!
Согласен. Интересный агрегат. Но уже выбор сделан. Менять двигатель не буду.
second
С танковым мотором классный вариант. Но где его найти…
www.avito.ru/naberezhnye_…y_2_d_12_b_s_1_1819017438
Прикольно. Очень даже.)
набери белорусам, хз что скажут по цене но они уже здесь
Если только ради интереса. Глобально менять уже что-то поздно.
ScorpionBrest
Есть хотрод с самолетной звездой. Есть с танковым мотором. Ну почему бы с зиловским не быть?
Но ты всеравно маньячило)
Ещё реактор от подлодки предложите
Я за современный мотор. Стилизовать его под старину и никто особо не вкурит, что это за зверь.
Современный двигатель не хочу. Почему? Выше написал. Стилизовать двигатель — точно нет. Видел я в волгах волговскую стилистику и буквы ГАЗ на неродных движках — выглядит нелепо.
Дело хозяйское. Как в потоке себя ведет?
В потоке машина ездить не будет. Тут другие цели.
Я когда свою строил, тоже преследовал другие цели))) А когда машина поехала, мне захотелось на ней именно иногда ездить и ездить здраво. Быстро пересмотрел двигатель)))
Надеюсь, что я точно знаю, что мне нужно от этой машины.)
Крутой проект, только такие эмоции. Если что-то начну опять строить, то либо хотрод, либо микроавтобус из прошлого)
LonginesASD
Я за современный мотор. Стилизовать его под старину и никто особо не вкурит, что это за зверь.
Не стилизуется грубая чугунина (условно) так, чтоб убедительно.
А кошерная диагностика монтировкой, обслуживание ведром, и ремонт кувалдой? Ну КАК в ТАКУЮ машину тыкать какими-то богопротивными диагностическими приборами, как на косы эти все с датчиками смотреть? 😆
Собственные реализованные проекты есть?
😂 пока только такие krokovod.org/forum/viewtopic.php?id=5 😆 Яхточка ещё, и по стройке немного😆 Но поумничать могу))
А, норм, в теме)))
LonginesASD
Я за современный мотор. Стилизовать его под старину и никто особо не вкурит, что это за зверь.
Карб на узэте — так себе видок 😁
Ну и звук не спрячешь.
Карб на бонневиле, к примеру, только внешне карб…
Интересно написано. Вкусно читать . Спасибо. Тоже хотел спросить, почему от японца ушли, тут более чем ясно написано . Хороший выбор 👍
Всех это интересовало. Пришлось объясниться.)
Вот лично я — ЗА! Такой двигатель на родстер — это поступок настоящего маниака, никакие ГАЗы рядом даже в такт не пляшут! А небольшую мощность с лихвой перекроет гигантский крутящий момент, который из непривычного человека выдавливает скопившиеся в нём сомнения через задний проход…
Я думаю хоть какая-то более-менее интересная динамика с этим двигателем все же будет.)
За счёт крутящего момента он будет ускоряться настолько быстро, что булки придётся сильно сжимать… Я гонял на Рено Логан, двигатель 1.6,16 клапанов, 113 л.с., ускоряется быстро, как-то вжик-вжик. А мой Форд, 2.0,100 л.с. ускорялся не так быстро, зато, чувствовалось как он уверенно прёт, тащит, везёт и для меня это больший кайф, чувствовать крутящий момент на невысоких оборотах, не дожидаться пока стрелка тахометра упрётся в красную зону… Посмотришь, как себя будет вести машина, всегда можно сделать корректировку. Не забывай, эти двигатели работали на седельных тягачах и таскали фуры.
не будет. большая инерция движущихся деталей двигателя, сцепления и кпп за счет большой массы этих деталей.
Так ему и пять тонн не тащить.
в любом случае))
Потом узнаем.
stariy-pank
За счёт крутящего момента он будет ускоряться настолько быстро, что булки придётся сильно сжимать… Я гонял на Рено Логан, двигатель 1.6,16 клапанов, 113 л.с., ускоряется быстро, как-то вжик-вжик. А мой Форд, 2.0,100 л.с. ускорялся не так быстро, зато, чувствовалось как он уверенно прёт, тащит, везёт и для меня это больший кайф, чувствовать крутящий момент на невысоких оборотах, не дожидаться пока стрелка тахометра упрётся в красную зону… Посмотришь, как себя будет вести машина, всегда можно сделать корректировку. Не забывай, эти двигатели работали на седельных тягачах и таскали фуры.
И не только фуры, но и армейские хлебопекарные заводы, командные пункты и ракеты 75-го комплекса. А в лесах они до сих пор пашут.
Я просто не стал распространяться. У меня сосед на ЗИЛу много лет всякие штуки возит…
second
Я думаю хоть какая-то более-менее интересная динамика с этим двигателем все же будет.)
Можно поиграть с КПП и ГП заднего моста. Ещё встречался, в инете, драгстер на базе Фольксваген Транспортер, с V8 в центре и доп редуктором от спортивного катера. Так что вариантом много, на вкус и деньги.
Я думаю, что под мои требования без разницы какое там гп ( в разумных пределах). Но возможно потом поиграюсь с главной парой. Доп редуктор очень спорный вариант.)
Обычный мост должен удовлетворить большинство ваших требований.
Тоже так думаю. У меня мост от Форд Транзит 1991г гп-4.51. Ещё бывают 3.91, 4.1
second
Я думаю хоть какая-то более-менее интересная динамика с этим двигателем все же будет.)
Помнится, был пользователь один на драйве, как, впрочем, и на некоторых форумах, который как раз зиловский двигатель форсировать пробовал. Dmad что ли.
Рекомендую погуглить, у него было много информации, может что осталось ещё.
Что-то не нашел. Интересно было бы посмотреть. Читал рассуждения Mad-V8 про постройку 10-12л из зиловского мотора. Там из интересного — коленвал 4000$, перенос распредвала, изготовление с нуля головок блока цилиндров. В общем слишком сложно и дорого.
gaz21.ru/forum/index.php?…a83cb5b42740a5b85a6d7fae9
Вроде он
Раньше и здесь был, если не ошибаюсь
second
Что-то не нашел. Интересно было бы посмотреть. Читал рассуждения Mad-V8 про постройку 10-12л из зиловского мотора. Там из интересного — коленвал 4000$, перенос распредвала, изготовление с нуля головок блока цилиндров. В общем слишком сложно и дорого.
единственный вариант без замены деталей — повышение степени компрессии путем фрезеровки ГБЦ до минимальной высоты. Там чтото порядка 30 л.с. в плюсе и момент за счет увеличения СЖ с 6,5 до 8,5. Дальше можно поменять карбюратор на четырехкамерный но они только зарубежного изготовления. Много денег, результат на 20. л.с. Дальше увеличение обьема и замена ГБЦ, но это уже получается 375 ураловский 7л. Есть книжка по двигателю, почитай: zil131.net/forum/threads/…dvigatel-zil-130-1973.10/
Спасибо. Пока думаю только про фрезеровку для нормальной работы на 92-95 бензине. За мощностью не гонюсь.
поддерживаю, для себя тоже выбрал такое решение.
second
Спасибо. Пока думаю только про фрезеровку для нормальной работы на 92-95 бензине. За мощностью не гонюсь.
375 мотор уже под 92
Под Аи-93! Когда проектировали двигатель ЗиЛ-375, было всего две марки бензина — А-76 и Аи-93. Была ещё марка Аи-98 "Экстра". Сейчас они соответствуют маркам А-92 и Аи-95.
Да это не важно. Помню у батиного приятеля был 130 на пропане с 375 мотором, стояло два редуктора от жигулей в паралель. Пер с прицепом как танк
second
Спасибо. Пока думаю только про фрезеровку для нормальной работы на 92-95 бензине. За мощностью не гонюсь.
Хорошо добрёл до этого места, т.к хотел написать именно об этом. Просто у меня был 131-й седельный тягач с лебёдкой (с армейского ДХ). Что да как врать не буду не сам делал, короче тоже переделывали на 92-й бензин, меняли генератор постоянного на современный (там такой "порося" стоял, это нечто!), убирали экранированную проводку и фары с ламп накаливания на галогены. 5 лет в лесу шалыгу оттаскал. Так, что Вам надолго хватит, получать удовольствие. Не посмотрел, какая у Вас КПП, если вдруг родная, то там можно навесное подключать или лебёдку. Ну это так размышления в слух.
Удач!
Всегда уважал увлечённых людей, с руками из нужного места!
second
Что-то не нашел. Интересно было бы посмотреть. Читал рассуждения Mad-V8 про постройку 10-12л из зиловского мотора. Там из интересного — коленвал 4000$, перенос распредвала, изготовление с нуля головок блока цилиндров. В общем слишком сложно и дорого.
академик вроде пытался
second
Я думаю хоть какая-то более-менее интересная динамика с этим двигателем все же будет.)
Не будет
Все относительно.) Опять же повторюсь — мне динамика в этой машине не нужна. Но всё же тут 400момента. И что по вашему будет ехать? У меня к примеру уже много лет повседневная машина Мерседес V8 5.0 300лс. Я уже давно считаю что он вообще не едет.) Друг мой Тэслу продал, потому что решил что она все же не едет.)
Ну а что толку от этого момента, если он падает только как машинв поедет. Динамика будет примерно как у лады приоры, может и приемлемо, но 6 литров. Хз просто экстремально тяжелый для легкового.аппарата двигатель, вот и все. КПП тоже огромная. В то время как на Газон мотор считай штатно встает компактная коробка от Волги
Тут цели другие. Машина ездить будет максимум только в глуши, типа детей своих тихонько покатать, повеселить. Всё. Больше динамики мне не надо. Для этого я и сделал ее с двумя рядами сидений вместо двух мест. По всем канонам она должна была быть двухместной. Зиловского мотора мне под эти цели даже замного
Многие здесь про звук 130 вспоминают, скажу прямо — родной звук и 130 и 131 так себе. Бесподобный звук получится если штатную банку заменить рессивером пневмосистемы. Входная вваривается в торец, выходной сосок в боковину. Звук божественный.
Если все же соберетесь потрошить двигун — поставьте 375ю поршневую и головы. Лошади лишними не бывают.
Если двигатель в оригинале там есть бяка — клапан с шариком и поросячим хвостиком. Это клапан отсоса картерных газов, из-за него плавают холостые и сам шарик характерно позвякивает. Плюс вся дрянь из сапуна идет в горшки и здорово душит и пачкает движок. Обычно всю эту приблуду меняли на маслостойкий шланг и выпускали на воздух, мнение зеленых не учитывалось.))
Погуглил эту тему. Отличная идея! Будет глушитель из ресивера. Поршневая от 357 тоже наверное будет, но позже.
Поршневая+ головы, они тоже другие.
А вот коробку лучше родную оставлять, ураловская с мудацкой логикой 3-4 .
ALVIF
Многие здесь про звук 130 вспоминают, скажу прямо — родной звук и 130 и 131 так себе. Бесподобный звук получится если штатную банку заменить рессивером пневмосистемы. Входная вваривается в торец, выходной сосок в боковину. Звук божественный.
Если все же соберетесь потрошить двигун — поставьте 375ю поршневую и головы. Лошади лишними не бывают.
Если двигатель в оригинале там есть бяка — клапан с шариком и поросячим хвостиком. Это клапан отсоса картерных газов, из-за него плавают холостые и сам шарик характерно позвякивает. Плюс вся дрянь из сапуна идет в горшки и здорово душит и пачкает движок. Обычно всю эту приблуду меняли на маслостойкий шланг и выпускали на воздух, мнение зеленых не учитывалось.))
Но я так понимаю будет очень громко с рессивером вместо глушителя. Подумываю может резанатор всё же добавить или даже два резанатора.
Не будет, поверь. У меня на Льве было сделано, штаны от лиаза и сразу короткая труба в рессивер с торца, а выходной сосок в дальнем боку.
Была у нас в Пушкине автоколонна с колхидами, почти все были переделаны на ураловскую поршневую и рессиверы вместа штатной банки. Колхиду было не узнать.
Моего Льва клиенты тоже по звуку узнавали.)) Один такой был в парке.
ALVIF
Многие здесь про звук 130 вспоминают, скажу прямо — родной звук и 130 и 131 так себе. Бесподобный звук получится если штатную банку заменить рессивером пневмосистемы. Входная вваривается в торец, выходной сосок в боковину. Звук божественный.
Если все же соберетесь потрошить двигун — поставьте 375ю поршневую и головы. Лошади лишними не бывают.
Если двигатель в оригинале там есть бяка — клапан с шариком и поросячим хвостиком. Это клапан отсоса картерных газов, из-за него плавают холостые и сам шарик характерно позвякивает. Плюс вся дрянь из сапуна идет в горшки и здорово душит и пачкает движок. Обычно всю эту приблуду меняли на маслостойкий шланг и выпускали на воздух, мнение зеленых не учитывалось.))
По поводу клапана отсоса картерных газов. Клапан удалю. Отверстие в картер под него вообще собираюсь заглушить, а из под карбюратора куда газы отсасывались пойдёт трубка на вакуумный усилитель тормозов. А картерные газы выведу с отверстия куда масло сливалось с компрессора. Так получится покрасивее с эстетической точки зрения. Компрессора не будет у меня.
А с вентилятором определился? Сейчас полно вискомуфт, ну и крыльчатку легкую.
ЗЫ там еще и ограничитель оборотов есть, обычно эти две трубки тупо глушили после обкатки. Родные крышка трамблера, бегунок, катушка и провода — редкая гадость, пробивало их от сырости и грязи постоянно. Если есть возможность найти импортные аналоги — будет здорово. А по хорошему там всю систему зажигания поменять бы. Вечная возня с зазорами и пробоями доставала больше насоса/карбюратора. Насос по жаре качает плохо, притирка клапанов помогала, но ненадолго.
Зажигание стоит уже у меня бесконтактное. Надеюсь будет нормально работать. Про ограничитель оборотов все пишут по разному. Есть и мнение, что лучше не убирать его. В общем побаиваюсь, наверное пусть пока будет. С вентилятором не определился. Радиатор у меня станет ниже, чем стоит в ЗИЛе относительно двигателя. Надо радиатор сразу поставить, тогда видно будет.
second
Тут цели другие. Машина ездить будет максимум только в глуши, типа детей своих тихонько покатать, повеселить. Всё. Больше динамики мне не надо. Для этого я и сделал ее с двумя рядами сидений вместо двух мест. По всем канонам она должна была быть двухместной. Зиловского мотора мне под эти цели даже замного
Человек ставил на хаммеры зиловскую восьмёрку, правда с 4х камерный карбюратором . И на удивление написал, что хаммер он вёз не хуже родного движка. Кстати на драйве был бортовик
Интересно было бы почитать
www.drive2.ru/r/hummer/h1/4062246863888377852/ помоему этот
stariy-pank
Вот лично я — ЗА! Такой двигатель на родстер — это поступок настоящего маниака, никакие ГАЗы рядом даже в такт не пляшут! А небольшую мощность с лихвой перекроет гигантский крутящий момент, который из непривычного человека выдавливает скопившиеся в нём сомнения через задний проход…
У ЗМЗ и мощность меньше. Всего-то 115 коников…
Это какой ещё такой?
ЗМЗ-511
Ааааа…
stariy-pank
Вот лично я — ЗА! Такой двигатель на родстер — это поступок настоящего маниака, никакие ГАЗы рядом даже в такт не пляшут! А небольшую мощность с лихвой перекроет гигантский крутящий момент, который из непривычного человека выдавливает скопившиеся в нём сомнения через задний проход…
410 Н•м — это гигантский крутящий момент? 🤣🤣🤣
Для этой машины да.
Да ладно, это же даже для легковой не гигантский, а тем более для грузовика.
Обычный советский КАМАЗ 4310 выдавал 640 Н•м, и то это средненький показатель на фоне иномарок. А называть жалкие 410 Н•м «гигантским крутящим моментом, который из непривычного человека выдавливает скопившиеся в нём сомнения через задний проход» немного смешно
Мы же здесь прикалываемся, вот и посмейся.
Да посмеялся уже над возвеличиванием хиленького в общем-то двигателя
Понятно, что для своего времени он был нормальным, и что его более чем достаточно для целей автора. Но считать его крутящий момент сколь-нибудь выдающимся, и могущим удивить современного среднестатистического автовладельца как минимум странно
Нудный ты человек.