Так уж складывается что в машине неплохо приживаются две мировых марки — это Subaru и Hyundai.
На этот раз — это высоковольтные провода.
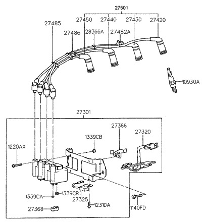
Поскольку очередной, уже 3-й комплект моих проводов кончился, было решено больше не покупать этот шлак и поискать им замену.
Кроме более высокого качества хотелось упрятать наконечники проводов пониже. И вот, недолгий поиск привел к варианту снова от Hyundai Accent

Поскольку катушка у меня расположена между 3 и 4 горшками хотелось еще оптимизировать длины проводов. В итоге после некоторой путаницы оказались заказаны
2шт — 27450-26700 — Длина кабеля [мм]: 190
1шт — 27440-26700 — Длина кабеля [мм]: 290
1шт — 27430-26700 — Длина кабеля [мм]: 370
Еще один провод 27420-26700 не заказывал, он самый длинный — 430 мм

Дальше есть проблема адаптации на клемму катушки ваз.

Здесь я поступил так.
Берем старый провод ВАЗ и вытаскиваем наконечник

Отламываем к херам и выбрасываем остатки провода в помойку, надеюсь больше никогда о них не узнаю.
Оставляем только сам наконечник.

Боком вставляем его в прорезь клеммы провода от хюндая

Берем плоскогубцы, и проворачиваем на 90 градусов. Проталкиваем внутрь. Все, он там

Ну и конечно же я упаковал все провода в гофры.
Вот так теперь это выглядит на моторе. Даже места кажется стало больше

А вот как было

Комментарии 15
Тему термоэкрана бы раскрыть)) Я до сих пор окончательный вариант для себя не выбрал. И на щите что за материал?
На щите, если ты имеешь ввиду передний щиток, то там штатная шумка покрытая алюминиевой 0.2мм фольгой.
На капоте та-же фольга, но с базальтом www.drive2.ru/l/10300311/
Плюс над турбиной щиток просто из нержавейки, его я пока не поставил обратно.
А как закреплена? Просто на родные клипсы?
Клипсы + местами заклепки
на тазу коммутатор? не наколхозить индивидуальные катушки? или у вас попарно?
Два коммутатора на двухканальную катушку с 4-мя выходами. Попарное зажигание. Индивидуальные катушки менее надежны.
искра мощнее и нет ВВ проводов. меня мои достают уже, ценник в моём случае, совсем не хёндэшный. скоро переделаю на COP-катушки
Искра мощнее на катушке. И одна катушка стоит дешевле чем одна индивидуальная. А из строя на спорт моторах они выходят моментально. Увеличенного времени накопления не держат.
хз, наши М50е держат изи
на всех современных спортах — COP
И цена такой новой оригинальной катушки?
новой фиг знает, а так парни мне отсыпали их бесплатно, осциллографом если что прозвоню, наконечник 200р стоит, а так ну рублей 500 +/-, можно и за 1500 вполне комплект из 6 купить
это ещё к вопросу, что BMWшный оригинал 90х может по качеству быть живее нового =)
Новая ваз катушка почти в любом ларьке ~1200р ))
хм, деньги конечно важная штука, но когда хочется максимальной производительности, есть разумные траты, мне пластина под COP и катушки раза в 3 дешевле проводов получаются, к тому же увеличивается надёжность и разряд. у меня индивид катушки, но с ВВ проводами =)
С катушками на вазе нет проблем. Мы даже накопление увеличиваем.
С индивидуальными есть. Но делает их фирма Bosch, поэтому с ростом евро стоить стали несоразмерно. А с надежностью не фонтан.
мы тоже увеличиваем, наши держат