Как обычно зима подкралась незаметно и морозы ударили неожиданно.
В апреле я поставил себе новенький стартер WAI 21276BO. Типа хороший честный Тайвань, 2,2кВт, 11 зубов на бендиксе.В первые же минус 20 градусов стартер начал коротить. Т.е. крутить то, крутит, но медленно — для запуска мотора оборотов не хватает, плюс к этому мгновенно выжирает свежезаряженный аккумулятор.
Прикол в том, что такой же стартер, купленный пару лет назад на машину жены, вполне бодро крутит и заводит машину в минус 30. Видимо тайваньцы начали экономить на обмотке.
В общем в фирме WAI я разочаровался. Такая же история была с генераторами на 120А. Первые пять штук работают уже несколько лет, а последующие разваливались через 200 — 500 километров пробега. Разбивался якорь в подшипнике. Подшипник целый, а якорь как будто из пластилина.
UPD 07.12.18: Проблема была в обгоревших и закисленых проводах. Замена массового и стартерного провода на провода сечением 50 квадратов типа КГ проблему легкого и уверенного пуска решила полностью.
В общем стартер WAI 21276BO продолжает крутить.
Поиски лучшего стартера привели меня на форум Кайрон-Клана. Признанным лидером у них является стартер Valeo 432644. 2.2кВт, 11 зубов бендикса (скорость прокрутки получается на 10% больше, чем с бендиксом на 10 зубов).

Однако ценник у Valeo 432644 от 12 тыс. Поэтому на этом же форуме был озвучен аналог: Tesla Technics TT15208

Ценник у стартера TT15208 около 5 тыс. Надеюсь завтра приедет, пощупаю, поставлю попробую…
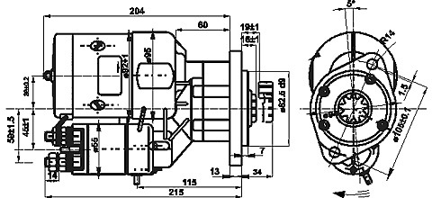
Вот такие параметры у этого стартера:

Максимальную мощность стартер развивает при 1530 об/мин и токе 417А при моменте примерно 12,2 Нм.
Хочу обратить на один из параметров стартера: Положение втягивающего / градусы R 32

Есть стартеры, например WAI 18360N с мощностью 2,3кВт, у которых положение втягивающего составляет 28 градусов. На глаз отличить 32 градуса от 28 трудно, но на моторы Корандо-Муссо такой стартер не встанет, т.к. упирается в стакан масляного фильтра.
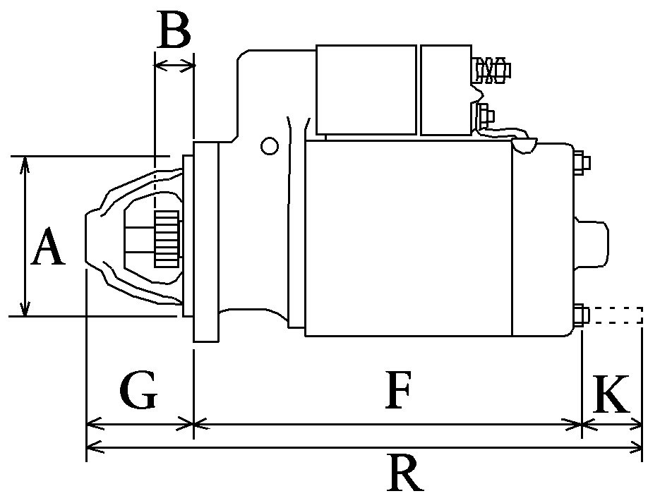
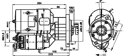
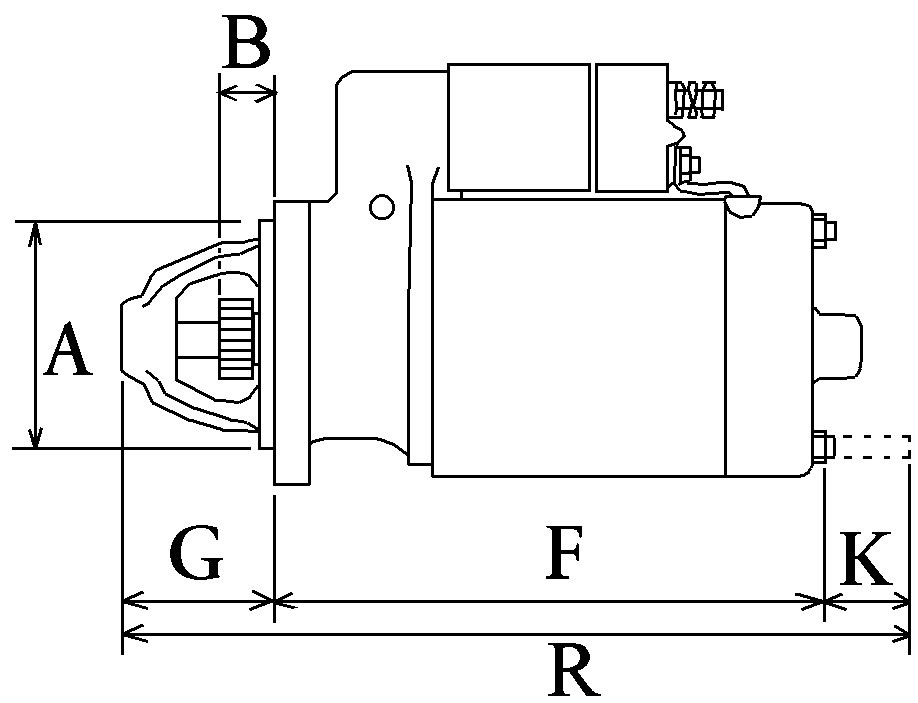
Теперь о других размерах стартера:


A Mount. flange 82.50 (посадочный (центровочный) размер в мотор)
B Drive dist. 25.50 (вылет бендикса для нас укладывается по разным стартерам в 24 — 30мм)
F Dist./back 163.00
G Dist./front 62.00
H No. of teeth 10,11 (количество зубов бендикса, чем больше, тем лучше)
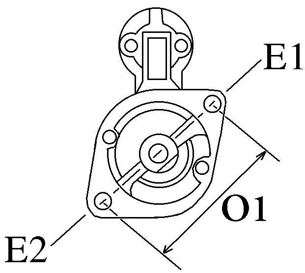
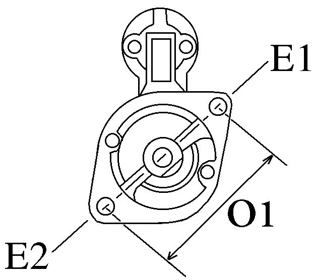
O Dist. mm 105.00 (расстояние по крепежным отверстиям)
P Rotation CR
R Total length mm 240.00
Еще есть диаметр D шестерни бендикса. Он варьируется от 27,5мм до 30мм в зависимости от числа зубов z звездочки.
И самый важный параметр из этих двух это модуль m зуба шестерни. m=D/(z+2)
10 зубов внешним диаметром 27.5мм -m = 2.29
11 зубов внешним диаметром 29,5мм -m = 2.26
11 зубов внешним диаметром 30мм -m = 2.3
Для нас важно понять, что наш модуль зуба составляет m=2,25
Далее пойдет жесть, изврат и прочее непотребство. Людей с неустойчивой психикой прошу прекратить читать.
Задумался я о том, почему на японских шестигоршковых моторах есть стартеры на 3кВт, а нас немцы ограничили 2,2кВт. Почему на промышленной и сельхозтехнике даже с меньшим объемом мотора применяю стартеры намного большей мощности. Да потому что отказоустойчивость! В общем несправедливо.
В поисках исправления несправедливости я начал шерстить каталоги производителей стартеров с подходящими посадочными размерами. И поиски привели меня к стартерам от трактора МТЗ.
И не надо кидать в меня гнилыми помидорами! Это не только мтз, нива, смд 18, юмз, зил, бычек, ПАЗ, ЛТЗ, ЮМЗ, Т-40, Т-16, Т-25, Т-18Б. Двигатель: д240, Д-50, Д-50 л, Д-243, Д-245, д-144, д-120, Д-130, Д-37, Д-65.Это и моторы Lombardini.
Номер стартера MAGNETON 9142782 или SLOVAK 11010033 (11010066).
Напряжение 12,0 В
Мощность — 2,7 кВт
Момент — 55 Нм
Обороты — 1500 об/мин
Вылет бендикса — 19
Модуль зуба — 3



Если такой стартер может раскрутить мотор Д-243 объемом 4,7 литра, то и наши моторы раскрутит. Тем более крутящий момент 55Нм более чем в четыре раза больше, чем момент 12,5 Нм у наших родных стартеров.
Единственной проблемой является шестерня бендикса. Но думаю можно ее либо заменить на нашу. Вот такой бендикс у стартера 11010033


Либо взять бендикс от подобного же стартера, который ставится на МТЗ-80

Сточить на токарном станке шестерню и посадить нашу шестерню с необходимым вылетом.
Так что если удастся купить такой стартер — буду пробовать.
Вот такой бендикс нашел. Возможно можно будет их скрестить






Комментарии 24
Valeo от спринтера 2.2/2.7 (cdi) поставил и счастлив, очень мощный и шустрый и обошёлся всего в $50
Отдал звездочки бендикса специальным людям. Думаю сделают звезду с нашим модулем на мегастартер от МТЗ.
Стартер TT15208 поставил. Какой то он совсем малюсенький по странению с WAI. Но крутит бодро.
Со второго аккумулятора машина завелась. Т.е. стартер я вообще не жалел во время запуска.
Посмотрим на сколько его хватит.
Доброе утро! Как показал себя стартер TT15208 за время использования?
Сжег я его.
А от тоетовского 1HZ не подойдет?
На крузере 105 даже стартер на 12 вольт.
Крутит бодро🤔
Размеры посадки не совпадают. Получается переделок больше
Прямо диссертацию написал.
А как иначе. Выживать то надо.
К такому стартеру не грех сразу и Д-243 прикрутить)))
606 мотор в два раза легче, в два с половиной раза оборотистее и в два раза мощнее.
Я в курсе параметров 606 мотора и его потенциала, но не смог не пошутить)))
Ждём продолжения!
Как разбогатею, так сразу
Tesla Technics TT15208 А у этого стартера количество зубьев такое как и у Валео?
Сегодня получил генератор Тесла TT15208. Сделано в Китае.
Зубов 10.
Прилагается бумажка с графиками испытаний:
крутящий момент 13Нм.
Мощность 2,08кВт.
Какой то он маленький и легкий. WAI раза в полтора больше.
Завтра попробую поставить.
У отца на Audi 100 2.5 TDI стартер WAI отходил честные 6 лет без ревизии, потом сделали ему ТО, продлившее ему жизнь ещё на 1.5 года. Сейчас трудится немецко-тайваньский гибрид собранный из 2х стартеров))
В том то и обида, что стартеры и генераторы более ранних выпусков работают отлично, а чем свежее, тем хуже. Видимо экономия сказывается.
Это как с водкой. Появляется какая нибудь новая марка — пьется как слеза девственности. Народ доволен, рекомендует знакомым. Недорого, вкусно, безопасно.
Проходит пол года и все — даже нюхать невозможно, не то что пить.
"жесть, изврат и прочее непотребство"
Давай, жги, мы привыкли :-)
И это только мысли на трезвую! Представляешь что у меня в голове тараканы придумывают, когда я под градусом? )))
С тараканами тебе повезло- умные попались
Я им даже мелки для тараканов купил. Вон сидят в уголочке тихонько, чертежи какие то рисуют.
Мысль хорошая, ждем осуществления.
Как всегда не хватает финансирования (((